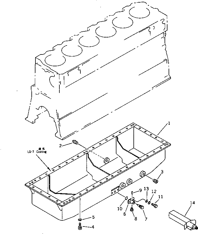
Запчасти Komatsu SA6D170-A-1J МАСЛЯНЫЙ ПОДДОН БЛОК ЦИЛИНДРОВ

Схема запчастей Komatsu SA6D170-A-1J - МАСЛЯНЫЙ ПОДДОН БЛОК ЦИЛИНДРОВ
FIT
1:1
100%

Артикул

Название

Примечание

Количество

1

6162-23-5161

PAN,OIL

SN: 11451-UP

1шт.

2

07042-00415

PLUG

SN: 11451-UP

1шт.

3

02720-21616

PLUG

SN: 11451-UP

3шт.

4

01010-51030

BOLT

SN: 11451-UP

49шт.

5

01602-01030

WASHER,SPRING

SN: 11451-UP

49шт.

|$5

6693-22-5600

VALVE ASS'Y

SN: 11451-UP

1шт.

6

0

BODY

SN: 11451-UP

1шт.

7

0

VALVE

SN: 11451-UP

1шт.

8

07040-02412

PLUG

SN: 11451-UP

1шт.

9

04020-00514

PIN,DOWEL

SN: 11451-UP

1шт.

10

07000-63028

O-RING (K2)

SN: 11451-UP

1шт.

11

01010-31030

BOLT

SN: 11451-UP

2шт.

12

01602-01030

WASHER,SPRING

SN: 11451-UP

2шт.

13

01640-01016

WASHER

SN: 11451-UP

2шт.

14

09920-00150

LIQUID GASKET,LG-7, 150G

SN: 11451-UP

-2шт.

Выбрано товаров: 15