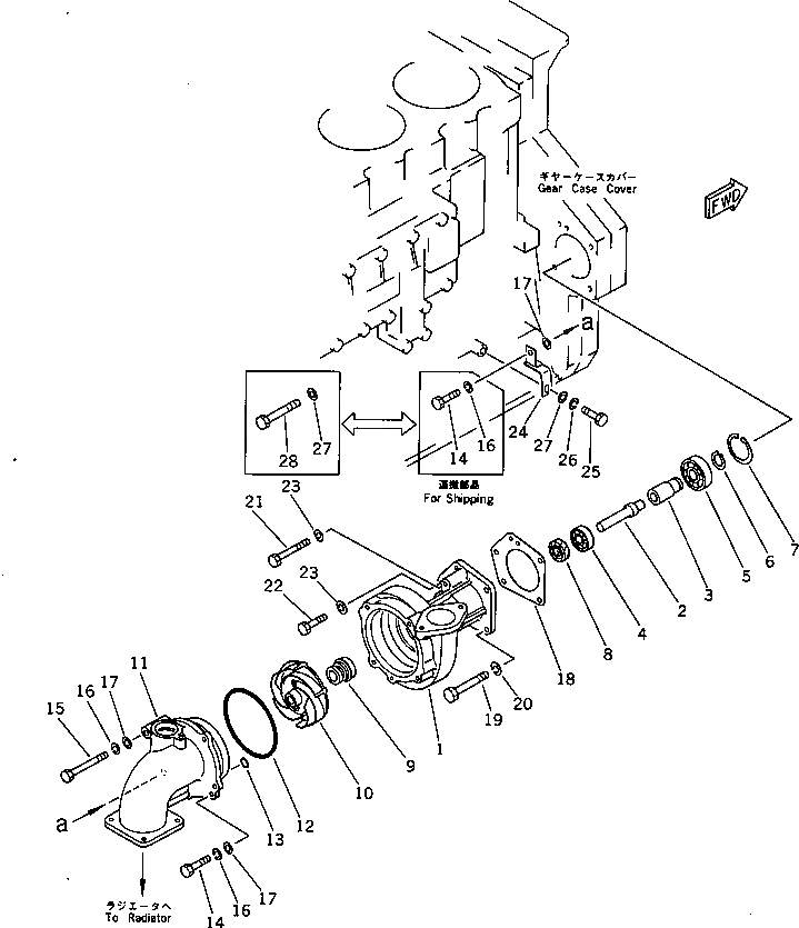
Запчасти Komatsu SA6D170-A-1J ВОДЯНАЯ ПОМПА И КРЕПЛЕНИЕ СИСТЕМА ОХЛАЖДЕНИЯ

Схема запчастей Komatsu SA6D170-A-1J - ВОДЯНАЯ ПОМПА И КРЕПЛЕНИЕ СИСТЕМА ОХЛАЖДЕНИЯ
FIT
1:1
100%

Артикул

Название

Примечание

Количество

|$0

6162-63-1012

WATER PUMP ASS'Y

SN: 11451-UP

1шт.

1

0

BODY

SN: 11451-UP

1шт.

|$2

6162-63-1301

SHAFT ASS'Y

SN: 11451-UP

1шт.

2

0

SHAFT,REAR

SN: 11451-UP

1шт.

3

0

SHAFT,FRONT

SN: 11451-UP

1шт.

4

06000-06205

BEARING,BALL

SN: 11451-UP

1шт.

5

06000-06306

BEARING,BALL

SN: 11451-UP

1шт.

6

6162-63-1340

RING,RETAINER

SN: 11451-UP

1шт.

7

6162-63-1440

RING,SNAP

SN: 11451-UP

1шт.

8

6162-63-1570

SEAL,OIL (K6)

SN: 11451-UP

1шт.

9

6162-63-1511

SEAL, WATER (K6)

SN: 11451-UP

1шт.

10

6162-63-1352

IMPELLER

SN: 11451-UP

1шт.

11

6162-63-1180

HOUSING

SN: 11451-UP

1шт.

12

07000-05145

O-RING (K6)

SN: 11451-UP

1шт.

13

07000-62012

O-RING (K6)

SN: 11451-UP

1шт.

14

01010-31030

BOLT

SN: 11451-UP

3шт.

15

01010-31080

BOLT

SN: 11451-UP

1шт.

16

01602-01030

WASHER,SPRING

SN: 11451-UP

4шт.

17

01640-01016

WASHER

SN: 11451-UP

4шт.

18

6162-63-1810

GASKET (K6)

SN: 11452-UP

1шт.

18

6162-63-1810

GASKET (K2,K6)

SN: 11451-11451

1шт.

19

01010-31270

BOLT

SN: 11451-UP

2шт.

20

01602-01236

WASHER,SPRING

SN: 11451-UP

2шт.

21

01010-31075

BOLT

SN: 11451-UP

1шт.

22

01010-31030

BOLT

SN: 11451-UP

2шт.

23

01602-01030

WASHER,SPRING

SN: 11451-UP

3шт.

24

6162-63-1531

BRACKET

SN: 11451-UP

1шт.

24

0

BRACKET

SN: (11451-11846)

1шт.

25

01010-31025

BOLT

SN: 11451-UP

1шт.

26

01602-01030

WASHER,SPRING

SN: 11451-UP

1шт.

27

01640-01016

WASHER

SN: 11451-UP

2шт.

28

01010-31035

BOLT

SN: 11451-UP

1шт.

Выбрано товаров: 32