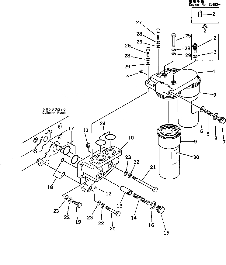
Запчасти Komatsu SA6D170-A-1J МАСЛ. ФИЛЬТР И КРЕПЛЕНИЕ СИСТЕМА СМАЗКИ МАСЛ. СИСТЕМА

Схема запчастей Komatsu SA6D170-A-1J - МАСЛ. ФИЛЬТР И КРЕПЛЕНИЕ СИСТЕМА СМАЗКИ МАСЛ. СИСТЕМА
FIT
1:1
100%

Артикул

Название

Примечание

Количество

|1

6162-53-5100

OIL FILTER ASS'Y

SN: 11452-UP

1шт.

|1

6162-53-5400

OIL FILTER ASS'Y

SN: 11451-11451

1шт.

1

6162-53-5110

BRACKET

SN: 11452-UP

1шт.

|1

6162-53-5410

BRACKET

SN: 11451-11451

1шт.

2

07042-00108

PLUG

SN: 11452-UP

1шт.

|2

600-211-1930

SENSOR

SN: 11451-11451

1шт.

3

07005-01612

GASKET (K2)

SN: 11451-11451

1шт.

4

07043-00312

PLUG

SN: 11451-UP

1шт.

5

600-211-1870

SPRING

SN: 11451-UP

1шт.

6

6162-53-5450

PACKING

SN: 11451-UP

1шт.

7

6162-53-5420

CAP

SN: 11451-UP

1шт.

8

6162-53-5430

PACKING

SN: 11452-UP

1шт.

|8

6162-53-5430

PACKING (K2)

SN: 11451-11451

1шт.

9

600-211-1230

CARTRIDGE

SN: 11451-UP

2шт.

|10

6162-53-5500

ADAPTER ASS'Y

SN: 11451-UP

1шт.

10

0

ADAPTER

SN: 11451-UP

1шт.

11

07043-00415

PLUG

SN: 11451-UP

1шт.

12

07043-00108

PLUG

SN: 11451-UP

1шт.

13

6162-53-6770

PLUNGER

SN: 11451-UP

1шт.

14

6162-53-5540

SPRING

SN: 11451-UP

1шт.

15

6162-53-5520

CAP

SN: 11451-UP

1шт.

16

6162-53-5530

PACKING

SN: 11452-UP

1шт.

|16

6162-53-5530

PACKING (K2)

SN: 11451-11451

1шт.

17

07000-63050

O-RING (K2)

SN: 11451-UP

2шт.

18

07000-63028

O-RING (K2)

SN: 11451-UP

2шт.

19

01010-31245

BOLT

SN: 11451-UP

6шт.

20

01010-31285

BOLT

SN: 11451-UP

1шт.

21

01011-31260

BOLT

SN: 11451-UP

1шт.

22

01602-01236

WASHER,SPRING

SN: 11451-UP

8шт.

23

01641-21223

WASHER

SN: 11451-UP

8шт.

24

07000-63050

O-RING (K2)

SN: 11451-UP

2шт.

25

01010-31270

BOLT

SN: 11451-UP

2шт.

26

01010-31240

BOLT

SN: 11451-UP

3шт.

27

01010-31250

BOLT

SN: 11451-UP

1шт.

28

01602-01236

WASHER,SPRING

SN: 11451-UP

6шт.

29

01640-01223

WASHER

SN: 11451-UP

6шт.

30

600-211-1741

PLATE¤ INSTRUCTION,(ENGLISH-FRENCH)

SN: 11451-UP

1шт.

Выбрано товаров: 37