Запчасти Komatsu SA6D170-A-1J СИСТЕМА ТРУБ РАДИАТОРА СИСТЕМА ОХЛАЖДЕНИЯ

Схема запчастей Komatsu SA6D170-A-1J - СИСТЕМА ТРУБ РАДИАТОРА СИСТЕМА ОХЛАЖДЕНИЯ
FIT
1:1
100%

Артикул

Название

Примечание

Количество

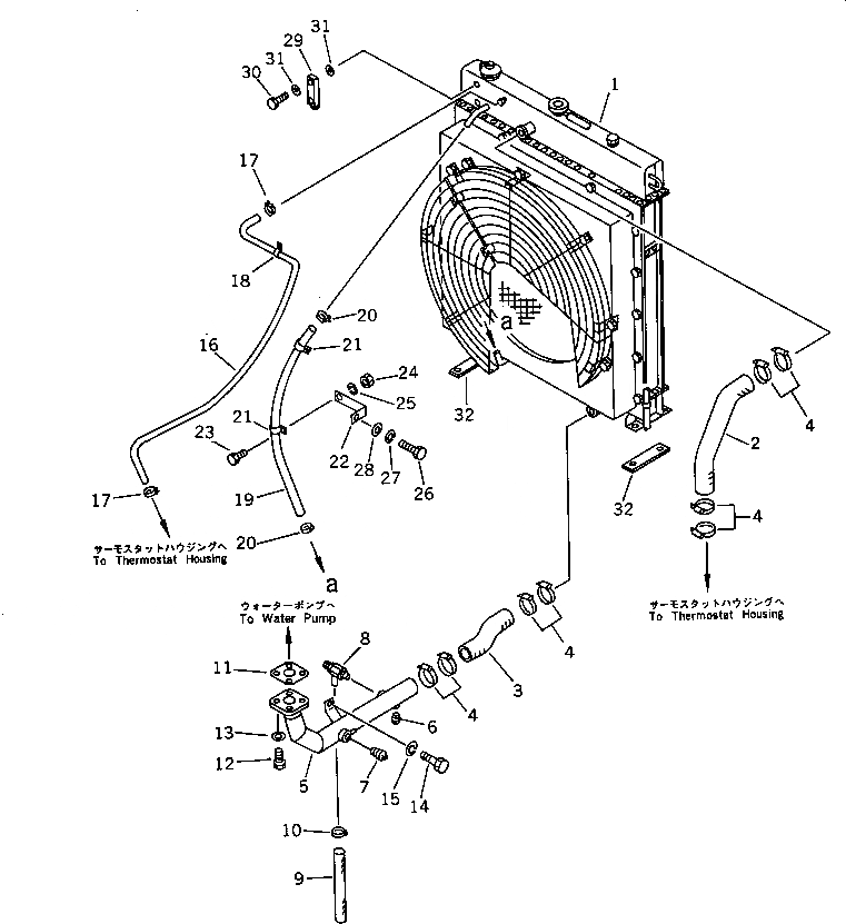
1

6995-62-1520

RADIATOR ASS'Y,(SEE FIG.0551)

SN: 11451-UP

1шт.

2

6995-62-1690

HOSE

SN: 11451-UP

1шт.

3

175-03-41650

HOSE

SN: 11451-UP

1шт.

4

07281-01029

CLAMP

SN: 11451-UP

8шт.

5

6995-62-1470

TUBE

SN: 11451-UP

1шт.

6

07042-00415

PLUG

SN: 11451-UP

1шт.

7

07042-51222

PLUG

SN: 11451-UP

1шт.

8

07730-50004

VALVE,DRAIN

SN: 11451-UP

1шт.

9

07270-01530

TUBE

SN: 11451-UP

1шт.

10

07280-02023

CLAMP

SN: 11451-UP

1шт.

11

6693-62-9241

GASKET (K6)

SN: 11451-UP

1шт.

12

01010-31030

BOLT

SN: 11451-UP

4шт.

13

01602-01030

WASHER,SPRING

SN: 11451-UP

4шт.

14

01010-31840

BOLT

SN: 11451-UP

1шт.

15

01602-01854

WASHER,SPRING

SN: 11451-UP

1шт.

16

6128-61-9530

HOSE

SN: 11451-UP

1шт.

17

07281-00197

CLAMP

SN: 11451-UP

2шт.

18

6141-21-5350

CLAMP

SN: 11451-UP

1шт.

19

6128-61-9650

HOSE

SN: 11451-UP

1шт.

20

07281-00489

CLAMP

SN: 11451-UP

2шт.

21

154-03-21540

CLAMP

SN: 11451-UP

2шт.

22

6128-61-9660

BRACKET

SN: 11451-UP

2шт.

23

01010-31225

BOLT

SN: 11451-UP

2шт.

24

01580-01210

NUT

SN: 11451-UP

2шт.

25

01602-01236

WASHER,SPRING

SN: 11451-UP

2шт.

26

01010-31030

BOLT

SN: 11451-UP

2шт.

27

01602-21030

WASHER,SPRING

SN: 11451-UP

2шт.

28

01643-31032

WASHER

SN: 11451-UP

2шт.

29

6995-62-1330

LEVEL GAUGE ASS'Y

SN: 11451-UP

1шт.

30

6995-62-1310

PLUG

SN: 11451-UP

2шт.

31

6995-62-1320

GASKET

SN: 11451-UP

4шт.

32

6995-62-1350

CUSHION,RUBBER

SN: 11451-UP

2шт.

Выбрано товаров: 32