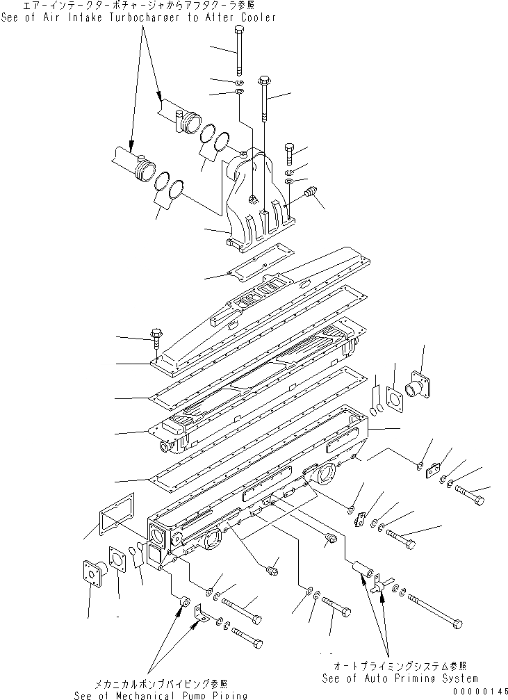
Запчасти Komatsu SA6D170-A-1Q-7 ТРУБОПРОВОД ВПУСКА ВОЗДУХА И ПОСЛЕОХЛАДИТЕЛЬ(№79-) ДВИГАТЕЛЬ

Схема запчастей Komatsu SA6D170-A-1Q-7 - ТРУБОПРОВОД ВПУСКА ВОЗДУХА И ПОСЛЕОХЛАДИТЕЛЬ(№79-) ДВИГАТЕЛЬ
1
2
3
4
4
5
6
6
7
7
8
8
8A
9
10
10
10
11
12
12
12
12
13
13
13
13
14
14
15
15
16
17
17
18
19
20
21
22
23
23
24
24
25
1
2
3
4
4
5
6
6
7
7
8
8
8A
9
10
10
10
11
12
12
12
12
13
13
13
13
14
14
15
15
16
17
17
18
19
20
21
22
23
23
24
24
25
FIT
1:1
100%

Артикул

Название

Примечание

Количество

1

6162-13-4111

MANIFOLD,INTAKE

SN: 15712-UP

1шт.

2

6162-65-6120

CORE ASS'Y

SN: 17914-UP

1шт.

2

0

CORE ASS'Y

SN: 15712-17913

1шт.

3

6162-15-4660

COVER

SN: 19437-UP

1шт.

3

0

COVER

SN: 15712-19436

1шт.

4

6162-13-4141

GASKET (K1)

SN: 17914-UP

2шт.

4

0

GASKET (K1)

SN: 15712-17913

2шт.

5

01435-00840

BOLT

SN: 15712-UP

38шт.

6

6162-63-6830

CONNECTOR

SN: 15712-UP

2шт.

7

6162-63-6230

O-RING (K1)

SN: 15712-UP

4шт.

8

6162-63-6841

GASKET (K1)

SN: 17914-UP

2шт.

8

0

GASKET (K1)

SN: 15712-17913

2шт.

8A

07042-00108

PLUG

SN: 15712-UP

1шт.

9

6162-13-4812

GASKET (K1)

SN: 16101-UP

6шт.

9

0

GASKET (K1)

SN: 15712-16100

6шт.

10

01010-81095

BOLT

SN: 19157-UP

18шт.

10

01010-81095

BOLT

SN: 17971-19156

13шт.

10

0

BOLT

SN: 15712-17970

13шт.

11

01011-81055

BOLT

SN: 17971-UP

18шт.

11

0

BOLT

SN: 15712-17970

18шт.

12

01602-01030

WASHER,SPRING

SN: 19157-UP

36шт.

12

01602-01030

WASHER,SPRING

SN: 15712-19156

31шт.

13

01640-21016

WASHER

SN: 19157-UP

36шт.

13

01640-21016

WASHER

SN: 15712-19156

31шт.

14

426-01-11310

BRACKET

SN: 15712-UP

2шт.

15

01643-31032

WASHER

SN: 15712-UP

2шт.

16

6162-14-4350

CONNECTOR,AIR

SN: 15712-UP

1шт.

17

02895-67075

O-RING (K1)

SN: 15712-UP

4шт.

18

07042-00108

PLUG

SN: 15712-UP

1шт.

19

6162-13-4741

GASKET (K1)

SN: 16101-UP

1шт.

19

0

GASKET (K1)

SN: 15712-16100

1шт.

20

01010-80840

BOLT

SN: 17971-UP

4шт.

20

0

BOLT

SN: 15712-17970

4шт.

21

6138-11-4890

BOLT

SN: 15712-UP

1шт.

22

581-08-11960

BOLT

SN: 15712-UP

1шт.

23

01602-00825

WASHER,SPRING

SN: 15712-UP

5шт.

24

01641-20812

WASHER

SN: 15712-UP

5шт.

25

07042-00108

PLUG

SN: 17439-UP

2шт.

1

6162-13-4111

MANIFOLD,INTAKE

SN: 15712-UP

1шт.

2

6162-65-6120

CORE ASS'Y

SN: 17914-UP

1шт.

2

0

CORE ASS'Y

SN: 15712-17913

1шт.

3

6162-15-4660

COVER

SN: 19437-UP

1шт.

3

0

COVER

SN: 15712-19436

1шт.

4

6162-13-4141

GASKET (K1)

SN: 17914-UP

2шт.

4

0

GASKET (K1)

SN: 15712-17913

2шт.

5

01435-00840

BOLT

SN: 15712-UP

38шт.

6

6162-63-6830

CONNECTOR

SN: 15712-UP

2шт.

7

6162-63-6230

O-RING (K1)

SN: 15712-UP

4шт.

8

6162-63-6841

GASKET (K1)

SN: 17914-UP

2шт.

8

0

GASKET (K1)

SN: 15712-17913

2шт.

8A

07042-00108

PLUG

SN: 15712-UP

1шт.

9

6162-13-4812

GASKET (K1)

SN: 16101-UP

6шт.

9

0

GASKET (K1)

SN: 15712-16100

6шт.

10

01010-81095

BOLT

SN: 19157-UP

18шт.

10

01010-81095

BOLT

SN: 17971-19156

13шт.

10

0

BOLT

SN: 15712-17970

13шт.

11

01011-81055

BOLT

SN: 17971-UP

18шт.

11

0

BOLT

SN: 15712-17970

18шт.

12

01602-01030

WASHER,SPRING

SN: 19157-UP

36шт.

12

01602-01030

WASHER,SPRING

SN: 15712-19156

31шт.

13

01640-21016

WASHER

SN: 19157-UP

36шт.

13

01640-21016

WASHER

SN: 15712-19156

31шт.

14

426-01-11310

BRACKET

SN: 15712-UP

2шт.

15

01643-31032

WASHER

SN: 15712-UP

2шт.

16

6162-14-4350

CONNECTOR,AIR

SN: 15712-UP

1шт.

17

02895-67075

O-RING (K1)

SN: 15712-UP

4шт.

18

07042-00108

PLUG

SN: 15712-UP

1шт.

19

6162-13-4741

GASKET (K1)

SN: 16101-UP

1шт.

19

0

GASKET (K1)

SN: 15712-16100

1шт.

20

01010-80840

BOLT

SN: 17971-UP

4шт.

20

0

BOLT

SN: 15712-17970

4шт.

21

6138-11-4890

BOLT

SN: 15712-UP

1шт.

22

581-08-11960

BOLT

SN: 15712-UP

1шт.

23

01602-00825

WASHER,SPRING

SN: 15712-UP

5шт.

24

01641-20812

WASHER

SN: 15712-UP

5шт.

25

07042-00108

PLUG

SN: 17439-UP

2шт.

Выбрано товаров: 76