Запчасти Komatsu SA6D170-A-1Q БЛОК ЦИЛИНДРОВ БЛОК ЦИЛИНДРОВ

Схема запчастей Komatsu SA6D170-A-1Q - БЛОК ЦИЛИНДРОВ БЛОК ЦИЛИНДРОВ
FIT
1:1
100%

Артикул

Название

Примечание

Количество

|1

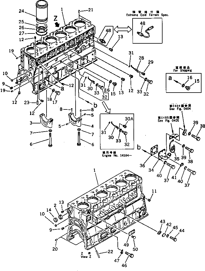
6162-23-1103

CYLINDER BLOCK ASS'Y

SN: 13551-UP

1шт.

|1

0

CYLINDER BLOCK ASS'Y

SN: 13144-13550

1шт.

1

0

BLOCK,CYLINDER

SN: 13551-UP

1шт.

|1

0

BLOCK,CYLINDER

SN: 13144-13550

1шт.

2

6162-23-1490

BUSHING,CAMSHAFT

SN: 13144-UP

7шт.

3

6162-23-1210

CAP,MAIN METAL¤ NO.1¤2¤3¤4¤5¤7

SN: 13144-UP

6шт.

4

6162-23-1250

CAP,MAIN METAL¤ NO.6

SN: 13144-UP

1шт.

5

6162-23-1260

PIN,DOWEL

SN: 13144-UP

2шт.

6

6162-23-1710

BOLT,MAIN CAP

SN: 13144-UP

14шт.

7

6127-21-1741

WASHER

SN: 13144-UP

14шт.

8

04020-00514

PIN,DOWEL

SN: 13144-UP

2шт.

9

07043-50415

PLUG

SN: 13144-UP

2шт.

10

07046-43516

PLUG

SN: 13144-UP

2шт.

11

07043-50211

PLUG

SN: 13144-UP

1шт.

12

07043-50108

PLUG

SN: 13144-UP

14шт.

13

07043-00108

PLUG

SN: 13144-UP

5шт.

14

07046-48020

PLUG

SN: 13144-UP

1шт.

15

07040-11409

PLUG

SN: 13144-UP

2шт.

16

07005-01412

GASKET (K2)

SN: 13144-UP

2шт.

17

07040-11007

PLUG

SN: 13144-UP

1шт.

18

07005-01012

GASKET (K2)

SN: 13144-UP

1шт.

19

04020-01434

PIN,DOWEL

SN: 13144-UP

2шт.

20

6127-21-1160

PIN,DOWEL

SN: 13144-UP

2шт.

21

6162-13-1410

PIN

SN: 13144-UP

12шт.

22

6162-23-1140

TUBE,OIL TRANSFER

SN: 13144-UP

1шт.

23

04020-00820

PIN

SN: 13144-UP

2шт.

24

6162-23-2210

LINER,CYLINDER

SN: 13144-UP

6шт.

25

6162-23-2250

SEAL,CREVICE (K2)

SN: 13144-UP

6шт.

26

6162-23-2220

O-RING,CENTER (K2)

SN: 13144-UP

6шт.

27

6162-23-2240

O-RING,LOWER (K2)

SN: 13144-UP

6шт.

28

6162-23-1840

NOZZLE,PISTON COOLING

SN: 14594-UP

1шт.

|28

6162-23-1860

NOZZLE,PISTON COOLING

SN: 13144-14593

1шт.

29

6100-21-1130

PLUG

SN: 13144-UP

1шт.

30

6161-21-1840

NOZZLE,PISTON COOLING

SN: 14594-UP

5шт.

|30

6162-23-1870

NOZZLE,PISTON COOLING

SN: 13144-14593

5шт.

30A

07043-70108

PLUG

SN: 14594-UP

5шт.

31

07000-62016

O-RING (K2)

SN: 13144-UP

6шт.

32

01010-30818

BOLT

SN: 13144-UP

6шт.

33

01602-00825

WASHER,SPRING

SN: 13144-UP

6шт.

34

6162-23-5711

FILLER,OIL

SN: 13144-UP

1шт.

35

07025-00100

CAP

SN: 13144-UP

1шт.

|35

07025-10100

CAP,(EXTREME COLD TERRAIN SPEC.)

SN: 15320-UP

1шт.

36

6162-23-6520

GASKET (K2)

SN: 13144-UP

1шт.

37

01010-31030

BOLT

SN: 13144-UP

6шт.

38

01010-31035

BOLT

SN: 13144-UP

2шт.

39

01643-31032

WASHER

SN: 13144-UP

2шт.

40

01602-01030

WASHER,SPRING

SN: 13144-UP

6шт.

41

426-01-11310

BRACKET

SN: 13144-UP

1шт.

42

6162-23-6530

PLATE

SN: 13144-UP

1шт.

43

6127-51-6821

GASKET (K2)

SN: 13144-UP

1шт.

44

01010-31025

BOLT

SN: 13144-UP

2шт.

45

01602-01030

WASHER,SPRING

SN: 13144-UP

2шт.

46

01010-31220

BOLT

SN: 13144-UP

1шт.

47

426-01-11310

BRACKET

SN: 13144-UP

1шт.

48

08073-10505

SWITCH

SN: 14930-UP

1шт.

|48

0

SWITCH

SN: 13144-14929

1шт.

|48

600-815-1391

SWITCH,(EXTREME COLD TERRAIN SPEC.)

SN: 15320-UP

1шт.

49

09605-01430

PLATE¤ NAME,(LIMITED SUPPLY)

SN: 13144-UP

1шт.

|49

09605-21430

PLATE¤ NAME,(GERMAN) (LIMITED SUPPLY)

SN: 13144-UP

1шт.

|49

09605-41430

PLATE¤ NAME,(RUSSIAN) (LIMITED SUPPLY)

SN: 15320-UP

1шт.

|49

09605-53430

PLATE¤ NAME,(FRENCH) (LIMITED SUPPLY)

SN: 13144-UP

1шт.

|49

09605-61430

PLATE¤ NAME,(ITALIAN) (LIMITED SUPPLY)

SN: 13144-UP

1шт.

50

04418-02550

SCREW

SN: 13144-UP

4шт.

|1

6162-23-1103

CYLINDER BLOCK ASS'Y

SN: 13551-UP

1шт.

|1

0

CYLINDER BLOCK ASS'Y

SN: 13144-13550

1шт.

1

0

BLOCK,CYLINDER

SN: 13551-UP

1шт.

|1

0

BLOCK,CYLINDER

SN: 13144-13550

1шт.

2

6162-23-1490

BUSHING,CAMSHAFT

SN: 13144-UP

7шт.

3

6162-23-1210

CAP,MAIN METAL¤ NO.1¤2¤3¤4¤5¤7

SN: 13144-UP

6шт.

4

6162-23-1250

CAP,MAIN METAL¤ NO.6

SN: 13144-UP

1шт.

5

6162-23-1260

PIN,DOWEL

SN: 13144-UP

2шт.

6

6162-23-1710

BOLT,MAIN CAP

SN: 13144-UP

14шт.

7

6127-21-1741

WASHER

SN: 13144-UP

14шт.

8

04020-00514

PIN,DOWEL

SN: 13144-UP

2шт.

9

07043-50415

PLUG

SN: 13144-UP

2шт.

10

07046-43516

PLUG

SN: 13144-UP

2шт.

11

07043-50211

PLUG

SN: 13144-UP

1шт.

12

07043-50108

PLUG

SN: 13144-UP

14шт.

13

07043-00108

PLUG

SN: 13144-UP

5шт.

14

07046-48020

PLUG

SN: 13144-UP

1шт.

15

07040-11409

PLUG

SN: 13144-UP

2шт.

16

07005-01412

GASKET (K2)

SN: 13144-UP

2шт.

17

07040-11007

PLUG

SN: 13144-UP

1шт.

18

07005-01012

GASKET (K2)

SN: 13144-UP

1шт.

19

04020-01434

PIN,DOWEL

SN: 13144-UP

2шт.

20

6127-21-1160

PIN,DOWEL

SN: 13144-UP

2шт.

21

6162-13-1410

PIN

SN: 13144-UP

12шт.

22

6162-23-1140

TUBE,OIL TRANSFER

SN: 13144-UP

1шт.

23

04020-00820

PIN

SN: 13144-UP

2шт.

24

6162-23-2210

LINER,CYLINDER

SN: 13144-UP

6шт.

25

6162-23-2250

SEAL,CREVICE (K2)

SN: 13144-UP

6шт.

26

6162-23-2220

O-RING,CENTER (K2)

SN: 13144-UP

6шт.

27

6162-23-2240

O-RING,LOWER (K2)

SN: 13144-UP

6шт.

28

6162-23-1840

NOZZLE,PISTON COOLING

SN: 14594-UP

1шт.

|28

6162-23-1860

NOZZLE,PISTON COOLING

SN: 13144-14593

1шт.

29

6100-21-1130

PLUG

SN: 13144-UP

1шт.

30

6161-21-1840

NOZZLE,PISTON COOLING

SN: 14594-UP

5шт.

|30

6162-23-1870

NOZZLE,PISTON COOLING

SN: 13144-14593

5шт.

30A

07043-70108

PLUG

SN: 14594-UP

5шт.

31

07000-62016

O-RING (K2)

SN: 13144-UP

6шт.

32

01010-30818

BOLT

SN: 13144-UP

6шт.

33

01602-00825

WASHER,SPRING

SN: 13144-UP

6шт.

34

6162-23-5711

FILLER,OIL

SN: 13144-UP

1шт.

35

07025-00100

CAP

SN: 13144-UP

1шт.

|35

07025-10100

CAP,(EXTREME COLD TERRAIN SPEC.)

SN: 15320-UP

1шт.

36

6162-23-6520

GASKET (K2)

SN: 13144-UP

1шт.

37

01010-31030

BOLT

SN: 13144-UP

6шт.

38

01010-31035

BOLT

SN: 13144-UP

2шт.

39

01643-31032

WASHER

SN: 13144-UP

2шт.

40

01602-01030

WASHER,SPRING

SN: 13144-UP

6шт.

41

426-01-11310

BRACKET

SN: 13144-UP

1шт.

42

6162-23-6530

PLATE

SN: 13144-UP

1шт.

43

6127-51-6821

GASKET (K2)

SN: 13144-UP

1шт.

44

01010-31025

BOLT

SN: 13144-UP

2шт.

45

01602-01030

WASHER,SPRING

SN: 13144-UP

2шт.

46

01010-31220

BOLT

SN: 13144-UP

1шт.

47

426-01-11310

BRACKET

SN: 13144-UP

1шт.

48

08073-10505

SWITCH

SN: 14930-UP

1шт.

|48

0

SWITCH

SN: 13144-14929

1шт.

|48

600-815-1391

SWITCH,(EXTREME COLD TERRAIN SPEC.)

SN: 15320-UP

1шт.

49

09605-01430

PLATE¤ NAME,(LIMITED SUPPLY)

SN: 13144-UP

1шт.

|49

09605-21430

PLATE¤ NAME,(GERMAN) (LIMITED SUPPLY)

SN: 13144-UP

1шт.

|49

09605-41430

PLATE¤ NAME,(RUSSIAN) (LIMITED SUPPLY)

SN: 15320-UP

1шт.

|49

09605-53430

PLATE¤ NAME,(FRENCH) (LIMITED SUPPLY)

SN: 13144-UP

1шт.

|49

09605-61430

PLATE¤ NAME,(ITALIAN) (LIMITED SUPPLY)

SN: 13144-UP

1шт.

50

04418-02550

SCREW

SN: 13144-UP

4шт.

Выбрано товаров: 126