Запчасти Komatsu SA6D170-B-1D БЛОК ЦИЛИНДРОВ БЛОК ЦИЛИНДРОВ

Схема запчастей Komatsu SA6D170-B-1D - БЛОК ЦИЛИНДРОВ БЛОК ЦИЛИНДРОВ
FIT
1:1
100%

Артикул

Название

Примечание

Количество

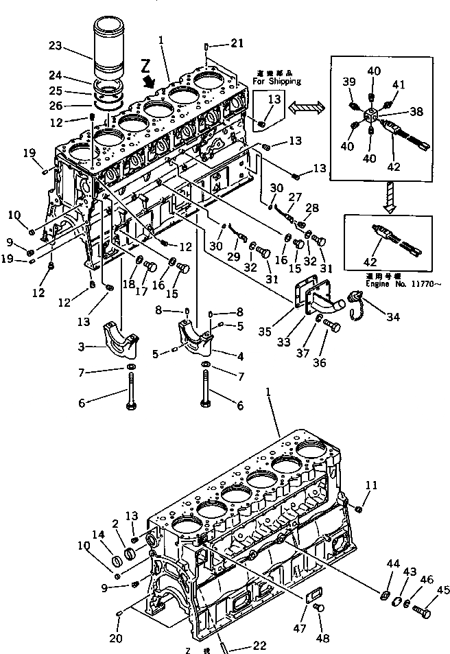
|1

6162-23-1102

CYLINDER BLOCK ASS'Y

SN: 11452-UP

1шт.

1

0

BLOCK,CYLINDER

SN: 11452-UP

1шт.

2

6162-23-1490

BUSHING,CAMSHAFT

SN: 11452-UP

7шт.

3

6162-23-1210

CAP,MAIN METAL¤ NO.1¤2¤3¤4¤5¤7

SN: 11452-UP

6шт.

4

6162-23-1250

CAP,MAIN METAL¤ NO.6

SN: 11452-UP

1шт.

5

6162-23-1260

PIN,DOWEL

SN: 11452-UP

2шт.

6

6162-23-1710

BOLT,MAIN CAP

SN: 11452-UP

14шт.

7

6127-21-1741

WASHER

SN: 11452-UP

14шт.

8

04020-00514

PIN,DOWEL

SN: 11452-UP

2шт.

9

07043-50415

PLUG

SN: 11452-UP

2шт.

10

07046-23516

PLUG

SN: 11452-UP

2шт.

11

07043-50211

PLUG

SN: 11452-UP

1шт.

12

07043-50108

PLUG

SN: 11452-UP

14шт.

13

07043-00108

PLUG

SN: 11452-UP

5шт.

14

07046-28020

PLUG

SN: 11452-UP

1шт.

15

07040-11409

PLUG

SN: 11452-UP

2шт.

16

07005-01412

GASKET (K2)

SN: 11452-UP

2шт.

17

07040-11007

PLUG

SN: 11452-UP

1шт.

18

07005-01012

GASKET (K2)

SN: 11452-UP

1шт.

19

04020-01434

PIN,DOWEL

SN: 11452-UP

2шт.

20

6127-21-1160

PIN,DOWEL

SN: 11452-UP

2шт.

21

6162-13-1410

PIN

SN: 11452-UP

12шт.

22

6162-23-1140

TUBE,OIL TRANSFER

SN: 11452-UP

1шт.

23

6162-23-2210

LINER,CYLINDER

SN: 11452-UP

6шт.

24

6162-23-2250

SEAL,CREVICE (K2)

SN: 11452-UP

6шт.

25

6162-23-2220

O-RING,CENTER (K2)

SN: 11452-UP

6шт.

26

6162-23-2240

O-RING,LOWER (K2)

SN: 11452-UP

6шт.

27

6162-23-1860

NOZZLE,PISTON COOLING

SN: 11452-UP

1шт.

28

6100-21-1130

PLUG

SN: 11452-UP

1шт.

29

6162-23-1870

NOZZLE,PISTON COOLING

SN: 11452-UP

5шт.

30

07000-62016

O-RING (K2)

SN: 11452-UP

6шт.

31

01010-30818

BOLT

SN: 11452-UP

6шт.

32

01602-00825

WASHER,SPRING

SN: 11452-UP

6шт.

33

6162-23-5680

FILLER,OIL

SN: 11452-UP

1шт.

34

07025-10100

CAP,FILLER

SN: 11452-UP

1шт.

35

6162-23-6520

GASKET (K2)

SN: 11452-UP

1шт.

36

01010-31030

BOLT

SN: 11452-UP

8шт.

37

01602-01030

WASHER,SPRING

SN: 11452-UP

8шт.

38

6995-72-1110

ADAPTER

SN: 11452-11769

1шт.

39

07325-10100

NIPPLE

SN: 11452-11769

1шт.

40

07043-50108

PLUG

SN: 11452-11769

3шт.

41

08073-00510

SWITCH

SN: 11452-11769

1шт.

42

600-815-1940

SWITCH,OIL PRESSURE

SN: 11452-UP

1шт.

43

6162-23-6530

PLATE

SN: 11452-UP

1шт.

44

6127-51-6821

GASKET (K2)

SN: 11452-UP

1шт.

45

01010-31025

BOLT

SN: 11452-UP

2шт.

46

01602-01030

WASHER,SPRING

SN: 11452-UP

2шт.

47

09605-01430

PLATE¤ NAME,(LIMITED SUPPLY)

SN: 11452-UP

1шт.

48

04418-02550

SCREW

SN: 11452-UP

4шт.

Выбрано товаров: 49