Запчасти Komatsu SA6D170-B-1D БЛОК ЦИЛИНДРОВ COVER БЛОК ЦИЛИНДРОВ

Схема запчастей Komatsu SA6D170-B-1D - БЛОК ЦИЛИНДРОВ COVER БЛОК ЦИЛИНДРОВ
FIT
1:1
100%

Артикул

Название

Примечание

Количество

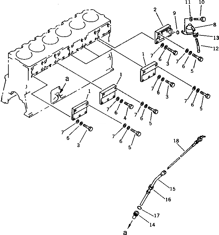
1

6162-23-6412

COVER,CAMFOLLOWER

SN: 11452-UP

5шт.

2

6162-23-6422

COVER,CAMFOLLOWER

SN: 11452-UP

1шт.

3

01010-31030

BOLT

SN: 11452-UP

17шт.

4

01010-31035

BOLT

SN: 11452-UP

1шт.

5

01010-31055

BOLT

SN: 11452-UP

12шт.

6

01602-01030

WASHER,SPRING

SN: 11452-UP

30шт.

7

01640-01016

WASHER

SN: 11452-UP

30шт.

8

6162-23-8510

BREATHER

SN: 11452-UP

1шт.

9

07000-03045

O-RING (K2)

SN: 11452-UP

1шт.

10

01010-31025

BOLT

SN: 11452-UP

1шт.

11

01602-01030

WASHER,SPRING

SN: 11452-UP

1шт.

12

07287-02623

HOSE

SN: 11452-UP

1шт.

13

07281-00489

CLAMP

SN: 11452-UP

1шт.

14

6162-23-5420

BUSHING

SN: 11452-UP

1шт.

15

6162-23-5351

GUIDE,OIL GAUGE

SN: 11452-UP

1шт.

16

07201-61527

NUT,SLEEVE

SN: 11452-UP

1шт.

17

07000-02012

O-RING (K2)

SN: 11452-UP

1шт.

18

6162-23-5380

GAUGE

SN: 11452-UP

1шт.

Выбрано товаров: 0