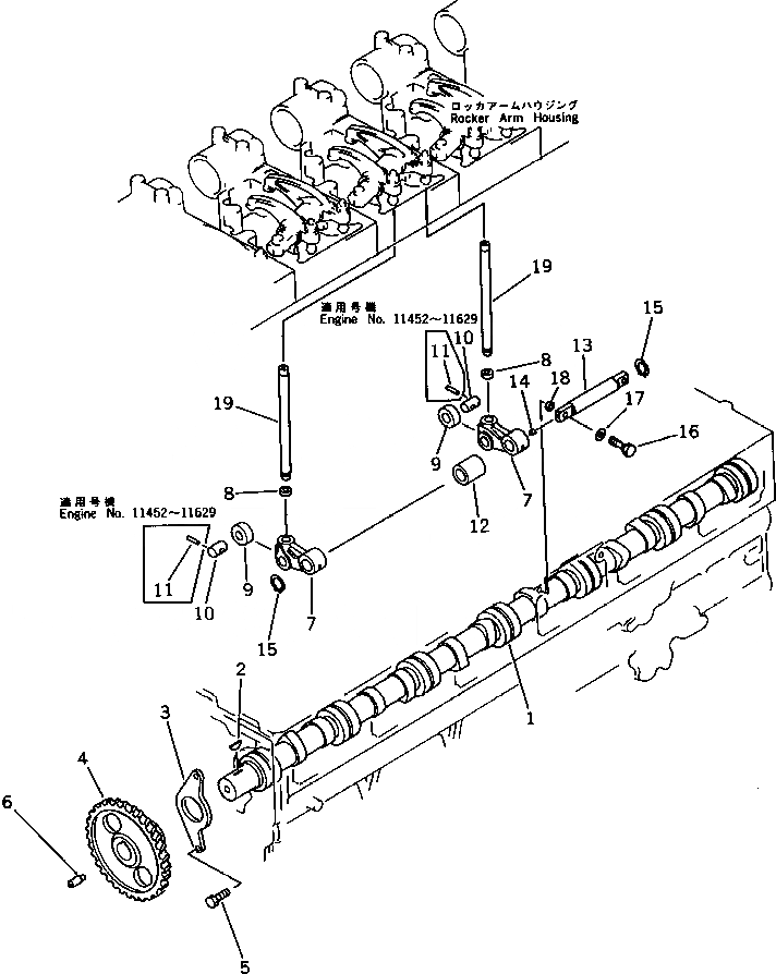
Запчасти Komatsu SA6D170-B-1D РАСПРЕДВАЛ И ТОЛКАТЕЛЬ КЛАПАНА БЛОК ЦИЛИНДРОВ

Схема запчастей Komatsu SA6D170-B-1D - РАСПРЕДВАЛ И ТОЛКАТЕЛЬ КЛАПАНА БЛОК ЦИЛИНДРОВ
FIT
1:1
100%

Артикул

Название

Примечание

Количество

|1

6162-43-1101

CAMSHAFT ASS'Y

SN: 11452-UP

1шт.

1

0

CAMSHAFT

SN: 11452-UP

1шт.

2

04010-00738

KEY

SN: 11452-UP

1шт.

3

6162-43-1130

PLATE,THRUST

SN: 11452-UP

1шт.

4

6162-43-1121

GEAR,CAMSHAFT

SN: 11452-UP

1шт.

5

6162-42-1150

BOLT

SN: 11452-UP

2шт.

6

6162-53-1890

SHAFT

SN: 11452-UP

1шт.

|7

6162-43-2021

CAMFOLLOWER ASS'Y

SN: 11630-UP

6шт.

|7

0

CAMFOLLOWER ASS'Y

SN: 11452-11629

6шт.

|7

6162-43-2301

CAMFOLLOWER SUB A.

SN: 11630-UP

2шт.

|7

0

CAMFOLLOWER SUB A.

SN: 11452-11629

2шт.

|$$12

(6162-43-2301{6162-43-2401)}

-1шт.

7

0

FOLLOWER,CAM

SN: 11630-UP

1шт.

|7

0

FOLLOWER,CAM

SN: 11452-11629

1шт.

8

0

SOCKET

SN: 11630-UP

1шт.

|8

0

SOCKET

SN: 11452-11629

1шт.

9

0

ROLLER,CAM

SN: 11452-UP

1шт.

10

0

PIN,CAMFOLLOWER

SN: 11630-UP

1шт.

|10

0

PIN,CAMFOLLOWER

SN: 11452-11629

1шт.

11

6162-43-2370

PIN,ROLLER

SN: 11452-11629

1шт.

12

6162-43-2320

COLLAR

SN: 11452-UP

1шт.

|13

6162-43-2401

SHAFT ASS'Y

SN: 11630-UP

1шт.

|13

6162-43-2400

SHAFT ASS'Y

SN: 11452-11629

1шт.

13

0

SHAFT

SN: 11630-UP

1шт.

|13

0

SHAFT

SN: 11452-11629

1шт.

14

6162-43-2420

PIN,DOWEL

SN: 11452-UP

1шт.

15

04064-02512

RING,SNAP

SN: 11452-UP

2шт.

16

6162-43-2450

BOLT

SN: 11452-UP

12шт.

17

01643-31232

WASHER

SN: 11452-UP

12шт.

18

6162-43-2430

RING,DOWEL

SN: 11452-UP

12шт.

19

6162-43-3101

ROD,PUSH

SN: 11452-UP

12шт.

Выбрано товаров: 31