Качественные детали и логистика
Оригинальные и аналоговые запчасти с доставкой по России, Казахстану и Беларуси
©2022 PartSell ООО "Система" ИНН 2463123282 ОГРН 1212400004838
Центральный офис: г. Красноярск, Академика Киренского, д.87, пом.4
Телефон: 8 (800) 777-65-74 Email: zakaz@partsell.ru
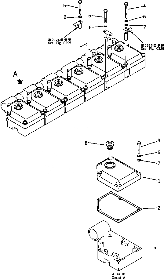
КРЫШКА КОРОМЫСЛА
№
Артикул
Название
Примечание
Количество
1
6162-13-8112
COVER,HEAD
SN: 11452-UP
6шт.
2
6162-13-8810
GASKET (K1)
3
01010-31055
BOLT
27шт.
4
01011-31020
1шт.
5
01011-31000
2шт.
6
01602-01030
WASHER,SPRING
30шт.
7
01640-01016
WASHER
28шт.
8
6162-13-8180
PACKING (K1)
Выбрано товаров: 0