Запчасти Komatsu SA6D170-B-1D АНТИКОРРОЗ. ЭЛЕМЕНТ СИСТЕМА ОХЛАЖДЕНИЯ

Схема запчастей Komatsu SA6D170-B-1D - АНТИКОРРОЗ. ЭЛЕМЕНТ СИСТЕМА ОХЛАЖДЕНИЯ
FIT
1:1
100%

Артикул

Название

Примечание

Количество

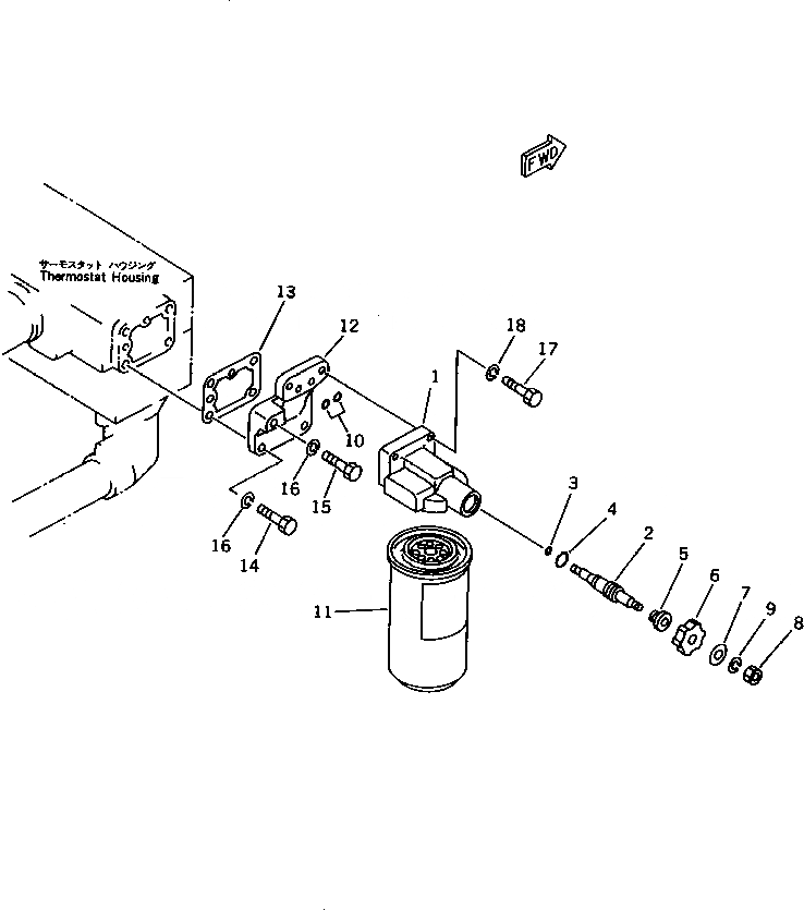
|1

600-411-1850

RESISTOR ASS'Y,CORROSION

SN: 11452-UP

1шт.

|1

600-411-1211

HEAD ASS'Y

SN: 11452-UP

1шт.

1

600-411-1221

HEAD

SN: 11452-UP

1шт.

2

600-411-1231

VALVE

SN: 11452-UP

1шт.

3

07000-01008

O-RING

SN: 11452-UP

1шт.

4

07000-02014

O-RING

SN: 11452-UP

1шт.

5

600-411-1250

COVER

SN: 11452-UP

1шт.

6

600-411-1240

HANDLE

SN: 11452-UP

1шт.

7

600-411-1260

PLATE

SN: 11452-UP

1шт.

8

600-411-1280

NUT

SN: 11452-UP

1шт.

9

600-411-1290

WASHER,SPRING

SN: 11452-UP

1шт.

10

600-411-1270

O-RING

SN: 11452-UP

2шт.

11

600-411-1160

CARTRIDGE

SN: 11452-UP

1шт.

12

6162-63-8120

BRACKET

SN: 11452-UP

1шт.

13

6162-63-8130

GASKET (K2)

SN: 11452-UP

1шт.

14

01010-31030

BOLT

SN: 11452-UP

3шт.

15

01010-31055

BOLT

SN: 11452-UP

1шт.

16

01602-01030

WASHER,SPRING

SN: 11452-UP

4шт.

17

01010-31040

BOLT

SN: 11452-UP

2шт.

18

01602-01030

WASHER,SPRING

SN: 11452-UP

2шт.

Выбрано товаров: 20