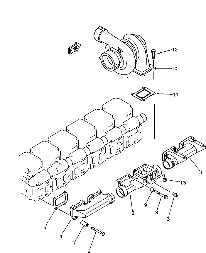
Запчасти Komatsu SA6D170-B-1E ВЫПУСКНОЙ КОЛЛЕКТОР И ТУРБОНАГНЕТАТЕЛЬ ГОЛОВКА ЦИЛИНДРОВ

Схема запчастей Komatsu SA6D170-B-1E - ВЫПУСКНОЙ КОЛЛЕКТОР И ТУРБОНАГНЕТАТЕЛЬ ГОЛОВКА ЦИЛИНДРОВ
FIT
1:1
100%

Артикул

Название

Примечание

Количество

1

6162-13-5140

MANIFOLD,EXHAUST¤ FRONT

SN: 11452-UP

1шт.

2

6162-13-5120

MANIFOLD,EXHAUST¤ CENTER

SN: 11452-UP

1шт.

3

07042-40108

PLUG

SN: 11452-UP

2шт.

4

6162-13-5110

MANIFOLD,EXHAUST¤ REAR

SN: 11452-UP

1шт.

5

6162-13-5810

GASKET (K1)

SN: 11452-UP

6шт.

6

01010-61290

BOLT

SN: 11452-UP

22шт.

7

6110-25-6290

SPACER

SN: 11452-UP

22шт.

8

01010-61265

BOLT

SN: 11452-UP

2шт.

9

6144-81-6680

SPACER

SN: 11452-UP

2шт.

10

6502-21-6000

TURBOCHARGER ASS'Y,(SEE FIG.0155)

SN: 11452-UP

1шт.

11

6162-83-2810

GASKET (K1)

SN: 11452-UP

1шт.

12

01050-61250

BOLT

SN: 11452-UP

4шт.

13

6685-11-5550

NUT

SN: 11452-UP

4шт.

Выбрано товаров: 13