Запчасти Komatsu SA6D170E-2E ТРУБОПРОВОД ВПУСКА ВОЗДУХА И ПОСЛЕОХЛАДИТЕЛЬ (ШИНЫ IMFLATION КОМПЛЕКТ)(№998-) ДВИГАТЕЛЬ

Схема запчастей Komatsu SA6D170E-2E - ТРУБОПРОВОД ВПУСКА ВОЗДУХА И ПОСЛЕОХЛАДИТЕЛЬ (ШИНЫ IMFLATION КОМПЛЕКТ)(№998-) ДВИГАТЕЛЬ
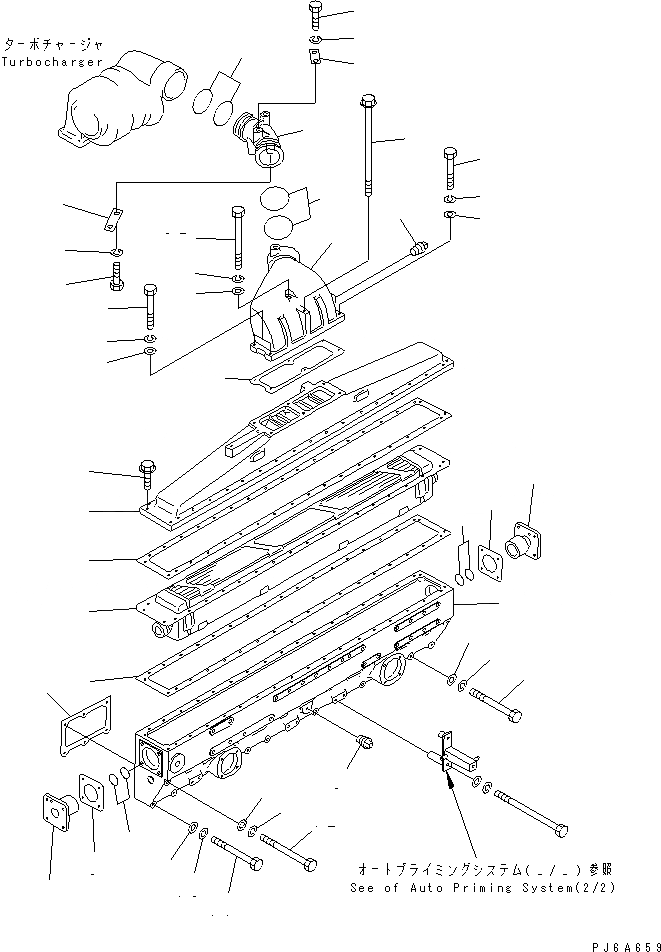
1
2
2
2
3
4
4
5
6
6
7
7
8
8
9
10
11
11
12
13
13
13
14
14
14
15
16
17
17
18
19
20
20
21
21
22
22
23
23
24
25
26
26
26
27
27
27
FIT
1:1
100%

Артикул

Название

Примечание

Количество

1

6162-15-4110

MANIFOLD,AIR INTAKE

SN: 19928-UP

1шт.

2

6162-65-6120

CORE ASS'Y

SN: 19928-UP

1шт.

3

6162-15-4660

COVER

SN: 19928-UP

1шт.

4

6162-13-4141

GASKET

SN: 19928-UP

2шт.

5

01435-00840

BOLT

SN: 19928-UP

38шт.

6

6162-63-6830

CONNECTOR

SN: 19928-UP

2шт.

7

6162-63-6230

O-RING

SN: 19928-UP

4шт.

8

6162-63-6841

GASKET (K1)

SN: 19928-UP

2шт.

9

07042-00108

PLUG

SN: 19928-UP

1шт.

10

6162-13-4812

GASKET (K1)

SN: 19928-UP

6шт.

11

01010-81095

BOLT

SN: 19928-UP

15шт.

12

01011-81055

BOLT

SN: 19928-UP

15шт.

13

01602-01030

WASHER,SPRING

SN: 19928-UP

30шт.

14

01640-21016

WASHER

SN: 19928-UP

30шт.

15

6162-13-4361

CONNECTOR

SN: 19928-UP

1шт.

16

6162-13-4310

CONNECTOR,AIR

SN: 19928-UP

1шт.

17

02895-67075

O-RING (K1)

SN: 19928-UP

4шт.

18

07042-00108

PLUG

SN: 19928-UP

2шт.

19

6162-13-4741

GASKET (K1)

SN: 19928-UP

1шт.

20

362-846-1170

PLATE

SN: 19928-UP

2шт.

21

01010-81020

BOLT

SN: 19928-UP

4шт.

22

01602-01030

WASHER,SPRING

SN: 19928-UP

4шт.

23

01010-80840

BOLT

SN: 19928-UP

4шт.

24

6222-11-4910

BOLT

SN: 19928-UP

1шт.

25

6140-14-5460

BOLT

SN: 19928-UP

1шт.

26

01602-00825

WASHER,SPRING

SN: 19928-UP

5шт.

27

01641-20812

WASHER

SN: 19928-UP

5шт.

Выбрано товаров: 27