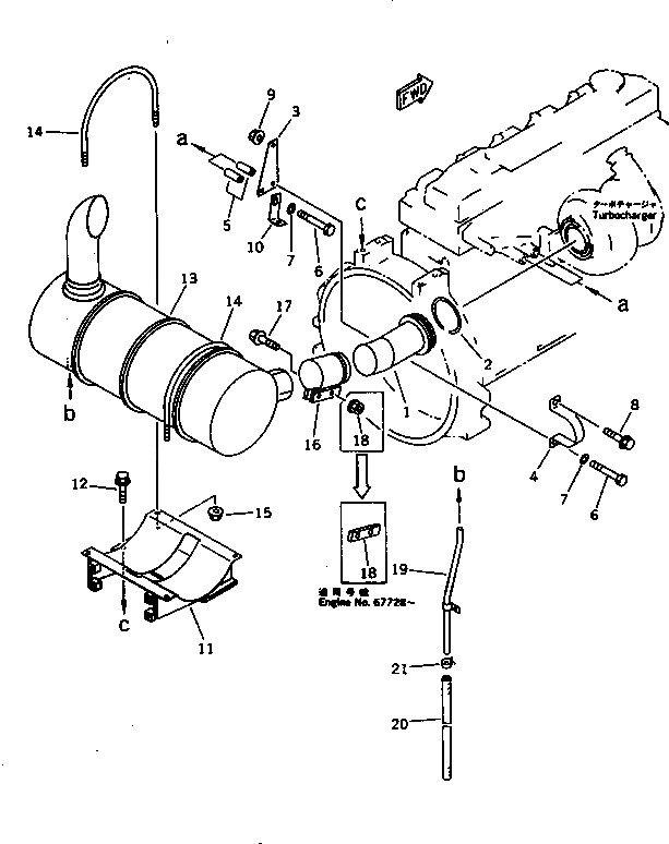
Запчасти Komatsu SA6D95L-1C-L ГЛУШИТЕЛЬ И КРЕПЛЕНИЕ ГОЛОВКА ЦИЛИНДРОВ

Схема запчастей Komatsu SA6D95L-1C-L - ГЛУШИТЕЛЬ И КРЕПЛЕНИЕ ГОЛОВКА ЦИЛИНДРОВ
FIT
1:1
100%

Артикул

Название

Примечание

Количество

1

6207-11-5631

PIPE,EXHAUST

SN: 71727-UP

1шт.

|1

0

PIPE,EXHAUST

SN: 35398-71726

1шт.

|$$3

(6207-11-5631{6137-11-5290)}

-1шт.

2

6137-11-5290

RING,SEAL

SN: 71727-UP

1шт.

|2

6136-12-5280

RING,SEAL

SN: 35398-71726

1шт.

3

6207-11-5940

PLATE

SN: 35398-UP

1шт.

4

6207-11-5950

CLAMP

SN: 35398-UP

1шт.

5

6150-81-6920

SPACER

SN: 35398-UP

2шт.

6

01010-31060

BOLT

SN: 35398-UP

2шт.

7

01643-31032

WASHER

SN: 35398-UP

2шт.

8

01435-01020

BOLT

SN: 35398-UP

1шт.

9

01584-01008

NUT

SN: 35398-UP

1шт.

10

6207-11-4950

BRACKET

SN: 66446-UP

1шт.

|10

0

BRACKET

SN: 35398-66445

1шт.

11

6207-11-5560

BRACKET

SN: 35398-UP

1шт.

12

01435-21025

BOLT

SN: 35398-UP

4шт.

13

6209-11-5221

MUFFLER

SN: 54475-UP

1шт.

|13

0

MUFFLER

SN: 35398-54474

1шт.

14

6206-11-5980

U-BOLT

SN: 35398-UP

2шт.

15

01594-00807

NUT

SN: 65393-UP

4шт.

|15

0

NUT

SN: 35398-65392

4шт.

16

6207-11-5921

CLAMP

SN: 35398-UP

1шт.

17

01435-01235

BOLT

SN: 35398-UP

2шт.

18

6207-11-5850

PLATE

SN: 67728-UP

1шт.

|18

0

NUT

SN: 35398-67727

2шт.

19

6207-11-5470

TUBE

SN: 35398-UP

1шт.

20

07260-20950

HOSE

SN: 35398-UP

1шт.

21

07285-00155

CLIP

SN: 61442-UP

1шт.

|21

0

CLIP

SN: 35398-61441

1шт.

Выбрано товаров: 29