Запчасти Komatsu SA6D95L-1C СИСТЕМА СМАЗКИ МАСЛООХЛАДИТЕЛЬ(№98-) СИСТЕМА СМАЗКИ МАСЛ. СИСТЕМА

Схема запчастей Komatsu SA6D95L-1C - СИСТЕМА СМАЗКИ МАСЛООХЛАДИТЕЛЬ(№98-) СИСТЕМА СМАЗКИ МАСЛ. СИСТЕМА
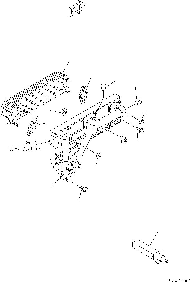
1
2
2
3
4
5
5
6
6
7
8
8
9
FIT
1:1
100%

Артикул

Название

Примечание

Количество

1

6207-61-5110

COVER ASS'Y

SN: 35398-@

1шт.

2

6204-61-5170

PLUG

SN: 35398-@

2шт.

3

6206-61-5170

PLUG

SN: 35398-@

1шт.

4

600-651-1520

ELEMENT

SN: 35398-@

1шт.

5

6204-61-5190

GASKET (K2)

SN: 35398-@

2шт.

6

01584-00806

NUT

SN: 35398-@

4шт.

7

07042-20312

PLUG

SN: 35398-@

1шт.

8

01435-20825

BOLT

SN: 35398-@

18шт.

9

09920-00150

LIQUID GASKET,LG-7, 150G

SN: 35398-50656

-2шт.

Выбрано товаров: 9