Запчасти Komatsu SA6D95L-1G ТРУБОПРОВОД ВПУСКА ВОЗДУХА И СОЕДИН-Е ГОЛОВКА ЦИЛИНДРОВ

Схема запчастей Komatsu SA6D95L-1G - ТРУБОПРОВОД ВПУСКА ВОЗДУХА И СОЕДИН-Е ГОЛОВКА ЦИЛИНДРОВ
FIT
1:1
100%

Артикул

Название

Примечание

Количество

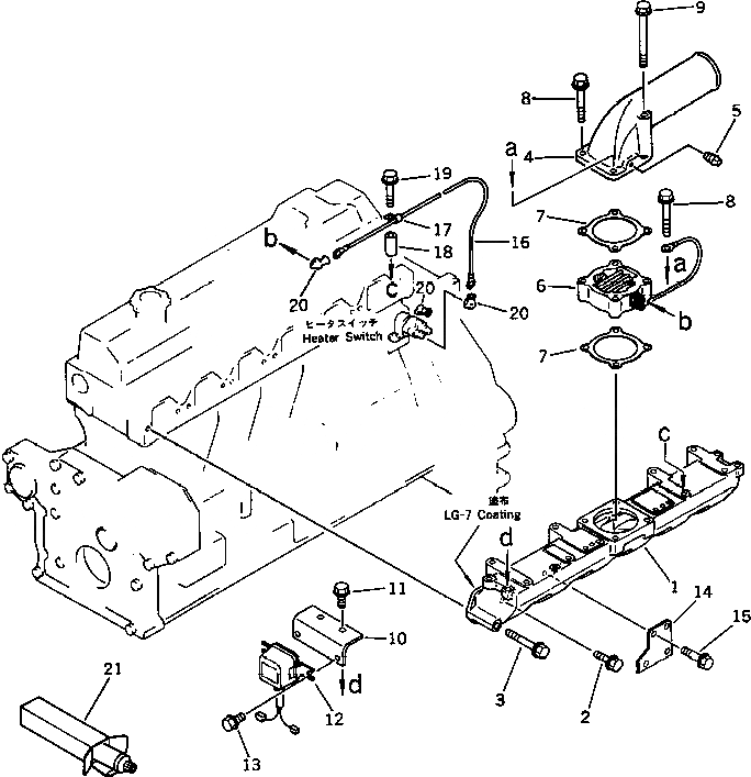
1

6206-11-4110

MANIFOLD,INTAKE

SN: 67158-UP

1шт.

2

01435-21030

BOLT

SN: 67158-UP

9шт.

3

01435-21085

BOLT

SN: 67158-UP

1шт.

4

6207-15-4330

CONNECTOR,AIR

SN: 67158-UP

1шт.

5

07042-00108

PLUG

SN: 67158-UP

1шт.

6

600-815-2341

HEATER,RIBBON

SN: 67158-UP

1шт.

7

6136-11-4820

GASKET (K1)

SN: 67158-UP

2шт.

8

01435-01070

BOLT

SN: 67158-UP

3шт.

9

01436-01050

BOLT

SN: 67158-UP

1шт.

10

6207-85-8310

BRACKET

SN: 67158-UP

1шт.

11

01435-21020

BOLT

SN: 67158-UP

2шт.

12

7700-85-8320

DIVIDING UNIT

SN: 67158-UP

1шт.

13

01435-20616

BOLT

SN: 67158-UP

2шт.

14

6207-75-6780

BRACKET

SN: 67158-UP

1шт.

15

01435-21040

BOLT

SN: 67158-UP

2шт.

16

6207-81-4710

WIRE¤ 450MM

SN: 67158-UP

1шт.

17

08036-10814

CLIP

SN: 67158-UP

1шт.

18

6131-12-5920

SPACER

SN: 67158-UP

1шт.

19

01435-21025

BOLT

SN: 67158-UP

1шт.

20

08038-00519

CAP,(SEE FIG.0681)

SN: 67158-UP

3шт.

21

09920-00150

LIQUID GASKET,LG-7¤ 150G

SN: 67158-UP

-2шт.

Выбрано товаров: 21