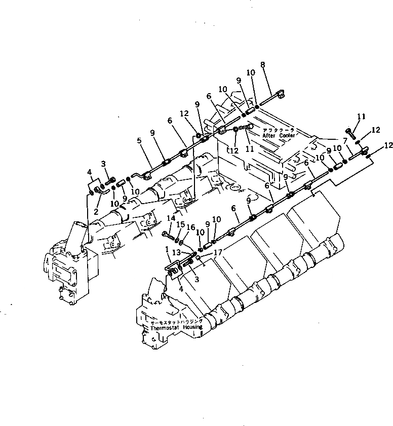
Запчасти Komatsu SA8V170-1B ВОДН. ЛИНИЯ ВОЗДУШН. ВЕНТИЛЯЦИЯ ТРУБЫ ГОЛОВКА ЦИЛИНДРОВ

Схема запчастей Komatsu SA8V170-1B - ВОДН. ЛИНИЯ ВОЗДУШН. ВЕНТИЛЯЦИЯ ТРУБЫ ГОЛОВКА ЦИЛИНДРОВ
FIT
1:1
100%

Артикул

Название

Примечание

Количество

1

6164-11-6880

TUBE,L.H.

SN: 10007-UP

1шт.

2

6164-11-6870

TUBE,R.H.

SN: 10007-UP

1шт.

3

6166-11-6990

BOLT,JOINT

SN: 10426-UP

2шт.

3

07206-30812

BOLT,JOINT

SN: 10007-10425

2шт.

4

07005-01212

GASKET (K1)

SN: 10007-UP

4шт.

5

6164-11-6860

TUBE,R.H.

SN: 10007-UP

1шт.

6

6164-11-6910

TUBE

SN: 10007-UP

5шт.

7

6164-11-6940

TUBE,L.H.

SN: 10007-UP

1шт.

8

6164-11-6930

TUBE,R.H.

SN: 10007-UP

1шт.

9

6164-11-6950

HOSE

SN: 10007-UP

8шт.

10

07281-00167

CLAMP

SN: 10007-UP

16шт.

11

6164-11-6890

BOLT,JOINT

SN: 10007-UP

8шт.

12

07005-01412

GASKET (K1)

SN: 10007-UP

16шт.

13

6131-11-5561

CLIP

SN: 10007-UP

1шт.

14

01010-31035

BOLT

SN: 10007-UP

1шт.

15

01602-01030

WASHER,SPRING

SN: 10007-UP

1шт.

16

01640-01016

WASHER

SN: 10007-UP

1шт.

17

6206-11-4590

SPACER

SN: 10426-UP

1шт.

17

0

COLLAR

SN: 10007-10425

1шт.

Выбрано товаров: 19