Запчасти Komatsu SA8V170-1B ГОЛОВКА ЦИЛИНДРОВ ГОЛОВКА ЦИЛИНДРОВ

Схема запчастей Komatsu SA8V170-1B - ГОЛОВКА ЦИЛИНДРОВ ГОЛОВКА ЦИЛИНДРОВ
FIT
1:1
100%

Артикул

Название

Примечание

Количество

|$0

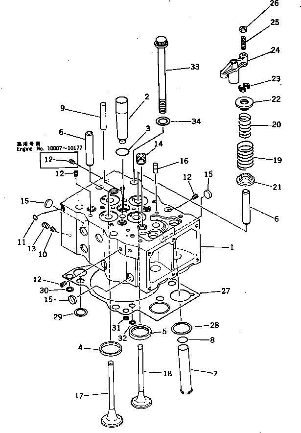
6164-11-1010

CYLINDER HEAD ASS'Y,WITH VALVE

SN: 10007-UP

8шт.

|$1

6164-11-1100

CYLINDER HEAD ASS'Y,VALVE LESS

SN: 10007-UP

1шт.

1

6164-11-1110

HEAD,CYLINDER

SN: 10007-UP

1шт.

2

6162-13-1130

SLEEVE

SN: 10007-UP

1шт.

3

6162-12-1152

O-RING (K1)

SN: 10007-UP

1шт.

4

6162-13-1330

INSERT,INTAKE VALVE (STD)

SN: 10007-UP

2шт.

4

6162-19-1330

INSERT, 0.25MM,INTAKE VALVE (OS)

SN: 10007-UP

2шт.

4

6162-18-1330

INSERT, 0.50MM,INTAKE VALVE (OS)

SN: 10007-UP

2шт.

4

6162-17-1330

INSERT, 0.75MM,INTAKE VALVE (OS)

SN: 10007-UP

2шт.

4

6162-16-1330

INSERT, 1.00MM,INTAKE VALVE (OS)

SN: 10007-UP

2шт.

5

6162-13-1321

INSERT,EXHAUST VALVE (STD)

SN: 10426-UP

2шт.

5

0

INSERT,EXHAUST VALVE (STD)

SN: 10007-10425

2шт.

5

6162-19-1321

INSERT, 0.25MM,EXHAUST VALVE (OS)

SN: 10426-UP

2шт.

5

0

INSERT, 0.25MM,EXHAUST VALVE (OS)

SN: 10007-10425

2шт.

5

6162-18-1321

INSERT, 0.50MM,EXHAUST VALVE (OS)

SN: 10426-UP

2шт.

5

0

INSERT, 0.50MM,EXHAUST VALVE (OS)

SN: 10007-10425

2шт.

5

6162-17-1321

INSERT, 0.75MM,EXHAUST VALVE (OS)

SN: 10426-UP

2шт.

5

0

INSERT, 0.75MM,EXHAUST VALVE (OS)

SN: 10007-10425

2шт.

5

6162-16-1321

INSERT, 1.00MM,EXHAUST VALVE (OS)

SN: 10426-UP

2шт.

5

0

INSERT, 1.00MM,EXHAUST VALVE (OS)

SN: 10007-10425

2шт.

6

6162-16-1341

GUIDE,VALVE

SN: 10007-UP

4шт.

7

6162-13-1160

TUBE,PUSH ROD

SN: 10007-UP

2шт.

8

07000-63028

O-RING (K1)

SN: 10007-UP

2шт.

9

6162-13-1140

GUIDE,CROSSHEAD

SN: 10007-UP

2шт.

10

6164-11-1210

PLUG

SN: 10007-UP

1шт.

11

07046-11516

PLUG

SN: 10007-UP

1шт.

12

07043-50108

PLUG

SN: 10178-UP

4шт.

12

07043-50108

PLUG

SN: 10007-10177

5шт.

13

07043-50211

PLUG

SN: 10007-UP

1шт.

14

07043-50617

PLUG

SN: 10007-UP

5шт.

15

6162-13-1150

PLUG,EXPANSION

SN: 10246-UP

12шт.

15

6162-13-1150

PLUG,EXPANSION

SN: 10007-10245

11шт.

16

6162-13-1410

PIN

SN: 10007-UP

2шт.

17

6162-43-4110

VALVE,INTAKE

SN: 10007-UP

2шт.

18

6164-41-4210

VALVE,EXHAUST

SN: 10007-UP

2шт.

19

6162-43-4410

SPRING,OUTER

SN: 10007-UP

4шт.

20

6162-43-4420

SPRING,INNER

SN: 10007-UP

4шт.

21

6162-43-4430

SEAT,SPRING

SN: 10007-UP

4шт.

22

6162-43-4511

SEAT,SPRING

SN: 10007-UP

4шт.

23

6162-42-4520

COTTER,VALVE

SN: 10007-UP

8шт.

24

6162-43-5610

CROSSHEAD

SN: 10007-UP

16шт.

25

6162-43-5640

SCREW,ADJUST

SN: 10007-UP

16шт.

26

6127-41-5630

NUT

SN: 10007-UP

16шт.

|$$44

STANDARD

-1шт.

27

6164-11-1814

GASKET,HEAD (K1)

SN: 10515-UP

8шт.

27

0

GASKET,HEAD (K1)

SN: 10383-10514

8шт.

27

0

GASKET,HEAD (K1)

SN: 10339-10382

8шт.

27

0

GASKET,HEAD (K1)

SN: 10007-10338

8шт.

28

6162-13-1820

GROMMET,OIL

SN: 10339-UP

2шт.

29

6162-13-1832

GROMMET,WATER

SN: 10515-UP

1шт.

29

0

GROMMET,WATER

SN: 10346-10514

1шт.

29

0

GROMMET,WATER

SN: 10339-10345

1шт.

30

6164-11-1821

GROMMET

SN: 10339-UP

1шт.

31

6162-13-1840

GROMMET,WATER

SN: 10339-UP

1шт.

32

6162-13-1851

GROMMET,WATER

SN: 10515-UP

1шт.

32

0

GROMMET,WATER

SN: 10339-10514

1шт.

|$$57

OVERSIZE 0.40MM

-1шт.

27

6164-19-1814

GASKET,HEAD

SN: 10007-UP

8шт.

28

6162-19-1820

GROMMET,OIL

SN: 10007-UP

2шт.

29

6162-19-1832

GROMMET,WATER

SN: 10007-UP

1шт.

30

6164-19-1821

GROMMET

SN: 10007-UP

1шт.

31

6162-19-1840

GROMMET,WATER

SN: 10007-UP

1шт.

32

6162-19-1851

GROMMET,WATER

SN: 10007-UP

1шт.

33

6162-13-1611

BOLT,HEAD

SN: 10341-UP

48шт.

33

0

BOLT,HEAD

SN: 10007-10340

48шт.

34

6162-13-1620

WASHER

SN: 10007-UP

48шт.

Выбрано товаров: 66