Запчасти Komatsu SA8V170-1B МАСЛЯНЫЙ ПОДДОН (-ЯC ХОЛОДН. WATHER СПЕЦ-Я.) БЛОК ЦИЛИНДРОВ

Схема запчастей Komatsu SA8V170-1B - МАСЛЯНЫЙ ПОДДОН (-ЯC ХОЛОДН. WATHER СПЕЦ-Я.) БЛОК ЦИЛИНДРОВ
FIT
1:1
100%

Артикул

Название

Примечание

Количество

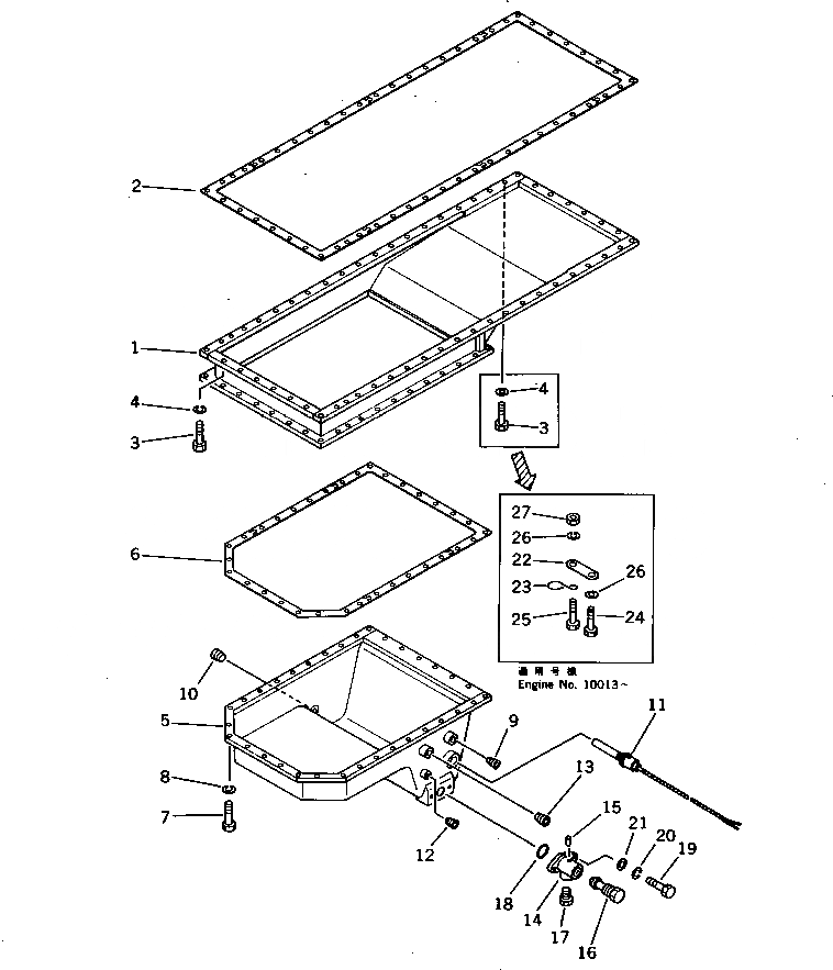
1

6164-21-5260

ADAPTER,OIL PAN

SN: 10007-UP

1шт.

2

6164-21-5931

GASKET (K2)

SN: 10246-UP

1шт.

2

0

GASKET (K2)

SN: 10007-10245

1шт.

3

01010-31035

BOLT

SN: 10013-UP

53шт.

3

01010-31035

BOLT

SN: 10007-10012

54шт.

4

01602-01030

WASHER,SPRING

SN: 10013-UP

53шт.

4

01602-01030

WASHER,SPRING

SN: 10007-10012

54шт.

5

6164-21-5270

PAN,OIL

SN: 10007-UP

1шт.

6

6164-21-5280

GASKET (K2)

SN: 10007-UP

1шт.

7

01010-31035

BOLT

SN: 10007-UP

33шт.

8

01602-01030

WASHER,SPRING

SN: 10007-UP

33шт.

9

02720-10607

PLUG

SN: 10007-UP

1шт.

10

02720-11616

PLUG

SN: 10007-UP

1шт.

11

6631-84-2912

HEATER,OIL PAN

SN: 10007-UP

1шт.

12

07043-50108

PLUG

SN: 10007-UP

1шт.

13

07043-00211

PLUG

SN: 10007-UP

1шт.

|$16

6127-21-5601

VALVE ASS'Y

SN: 10007-UP

1шт.

14

0

BODY,VALVE

SN: 10007-UP

1шт.

15

04020-00514

PIN,DOWEL

SN: 10007-UP

1шт.

16

6127-21-5620

VALVE

SN: 10007-UP

1шт.

17

6127-21-5630

PLUG

SN: 10007-UP

1шт.

18

07000-63035

O-RING (K2)

SN: 10007-UP

1шт.

19

01010-31030

BOLT

SN: 10007-UP

2шт.

20

01602-01030

WASHER,SPRING

SN: 10007-UP

2шт.

21

01640-01016

WASHER

SN: 10007-UP

2шт.

22

6301-11-4630

PLATE

SN: 10013-UP

1шт.

23

6710-21-7640

CLIP

SN: 10013-UP

1шт.

24

01010-31040

BOLT

SN: 10013-UP

1шт.

25

01010-31020

BOLT

SN: 10013-UP

1шт.

26

01602-01030

WASHER,SPRING

SN: 10013-UP

2шт.

27

01580-01008

NUT

SN: 10013-UP

1шт.

Выбрано товаров: 31