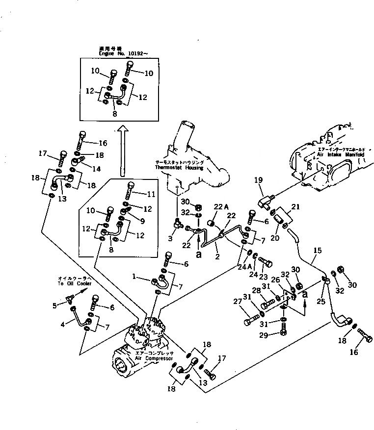
Запчасти Komatsu SA8V170-1B ЛИНИЯ КОМПРЕССОРА (/)(№7-8) АКСЕССУАРЫ

Схема запчастей Komatsu SA8V170-1B - ЛИНИЯ КОМПРЕССОРА (/)(№7-8) АКСЕССУАРЫ
FIT
1:1
100%

Артикул

Название

Примечание

Количество

1

6166-91-6190

TUBE

SN: 10007-@

1шт.

2

6164-91-6211

TUBE

SN: 10231-10238

1шт.

2

0

TUBE

SN: 10007-10230

1шт.

3

6162-83-6820

ELBOW

SN: 10239-@

1шт.

3

0

ELBOW

SN: 10007-10238

1шт.

4

6166-91-6121

TUBE

SN: 10231-@

1шт.

4

0

TUBE

SN: 10007-10230

1шт.

5

6166-91-6110

ELBOW

SN: 10007-@

1шт.

6

07206-31014

BOLT,JOINT

SN: 10007-@

4шт.

7

07003-01419

GASKET (K8)

SN: 10147-@

8шт.

7

07005-01412

GASKET (K8)

SN: 10007-10146

8шт.

8

6166-91-6181

TUBE

SN: 10192-10238

1шт.

8

6166-91-6180

TUBE

SN: 10007-10191

1шт.

9

6164-71-5140

JOINT

SN: 10007-10191

1шт.

10

07206-31014

BOLT,JOINT

SN: 10192-10238

2шт.

10

07206-31014

BOLT,JOINT

SN: 10007-10191

1шт.

11

6127-71-5710

BOLT,JOINT

SN: 10007-10191

1шт.

12

07003-01419

GASKET (K8)

SN: .-@

4шт.

12

07005-01412

GASKET (K8)

SN: 10147-.

4шт.

12

07005-01412

GASKET (K8)

SN: 10007-10146

5шт.

13

6166-91-6150

TUBE

SN: 10007-10238

2шт.

14

6166-91-6170

JOINT

SN: 10007-@

1шт.

15

6164-81-6311

TUBE

SN: 10231-10238

1шт.

15

0

TUBE

SN: 10007-10230

1шт.

16

6166-91-6160

BOLT,JOINT

SN: 10007-@

2шт.

17

6137-81-3140

BOLT,JOINT

SN: 10007-@

2шт.

18

6164-91-6220

GASKET (K8)

SN: 10246-@

10шт.

18

07005-02416

GASKET (K8)

SN: 10007-10245

10шт.

19

6164-81-6320

ELBOW

SN: 10007-@

1шт.

20

6164-91-6120

HOSE

SN: 10196-10238

1шт.

20

0

HOSE

SN: 10007-10195

1шт.

21

07281-00289

CLAMP

SN: 10007-@

2шт.

22

6991-11-5990

CLAMP

SN: 10007-@

2шт.

22A

6128-21-6730

SPACER

SN: 10007-@

1шт.

23

01010-31055

BOLT

SN: 10007-@

1шт.

24

01602-01030

WASHER,SPRING

SN: 10007-@

1шт.

24A

01640-01016

WASHER

SN: 10007-@

1шт.

25

234-44-15180

CLIP

SN: 10007-@

1шт.

26

6166-91-1130

BRACKET

SN: 10007-@

1шт.

27

01010-31040

BOLT

SN: 10007-@

1шт.

28

01010-31030

BOLT

SN: 10007-@

1шт.

29

01010-31025

BOLT

SN: 10007-@

1шт.

30

01580-01008

NUT

SN: 10007-@

3шт.

31

01640-01016

WASHER

SN: 10007-@

3шт.

32

01602-01030

WASHER,SPRING

SN: 10007-@

3шт.

Выбрано товаров: 45