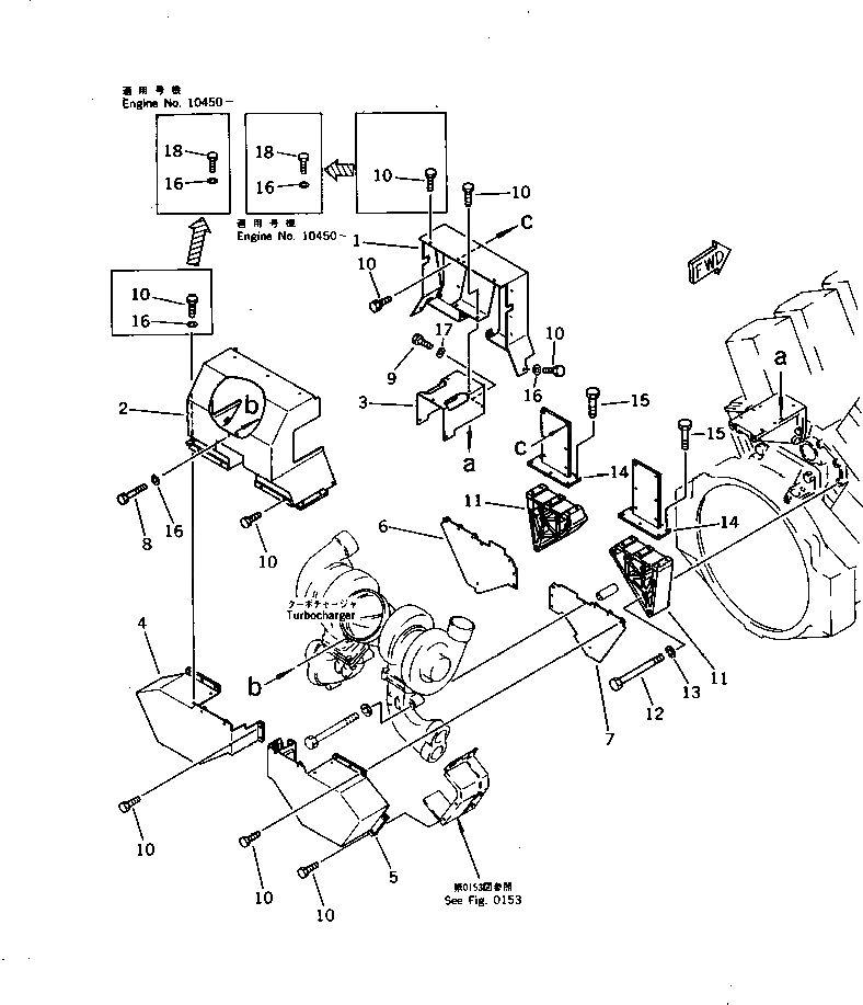
Запчасти Komatsu SA8V170-1B ВЫПУСКН. ОСНОВН.FOLD КРЫШКА(/) ГОЛОВКА ЦИЛИНДРОВ

Схема запчастей Komatsu SA8V170-1B - ВЫПУСКН. ОСНОВН.FOLD КРЫШКА(/) ГОЛОВКА ЦИЛИНДРОВ
FIT
1:1
100%

Артикул

Название

Примечание

Количество

1

6164-11-8313

COVER

SN: 10450-UP

1шт.

1

0

COVER

SN: 10196-10449

1шт.

1

0

COVER

SN: 10007-10195

1шт.

2

6164-11-8323

COVER

SN: 10450-UP

1шт.

2

0

COVER

SN: 10182-10449

1шт.

2

0

COVER

SN: 10007-10181

1шт.

3

6164-11-8331

COVER

SN: 10196-UP

1шт.

3

0

COVER

SN: 10007-10195

1шт.

4

6164-11-8352

COVER

SN: 10450-UP

1шт.

4

0

COVER

SN: 10196-10449

1шт.

4

0

COVER

SN: 10007-10195

1шт.

5

6164-11-8342

COVER

SN: 10450-UP

1шт.

5

0

COVER

SN: 10196-10449

1шт.

5

0

COVER

SN: 10007-10195

1шт.

6

6164-11-8372

PLATE

SN: 10196-UP

1шт.

6

0

PLATE

SN: 10007-10195

1шт.

7

6164-11-8362

PLATE

SN: 10246-UP

1шт.

7

0

PLATE

SN: 10007-10245

1шт.

8

6164-12-5310

BOLT

SN: 10192-UP

1шт.

8

0

BOLT

SN: 10007-10191

1шт.

9

6164-12-5340

BOLT

SN: 10192-UP

2шт.

9

01010-30812

BOLT

SN: 10007-10191

2шт.

10

6164-12-5310

BOLT

SN: 10450-UP

33шт.

10

6164-12-5310

BOLT

SN: 10192-10449

40шт.

10

0

BOLT

SN: 10007-10191

40шт.

11

6164-11-5751

BRACKET

SN: 10007-UP

2шт.

12

01011-31200

BOLT

SN: 10007-UP

8шт.

13

01643-31232

WASHER

SN: 10246-UP

8шт.

13

0

WASHER,SPRING

SN: 10007-10245

8шт.

14

6164-11-6130

BRACKET

SN: 10007-UP

2шт.

15

01010-31225

BOLT

SN: 10007-UP

8шт.

16

01643-31032

WASHER

SN: 10450-UP

18шт.

16

01643-31032

WASHER

SN: 10007-10449

15шт.

17

01643-30823

WASHER

SN: 10007-UP

1шт.

18

6164-12-5320

BOLT

SN: 10450-UP

7шт.

Выбрано товаров: 35