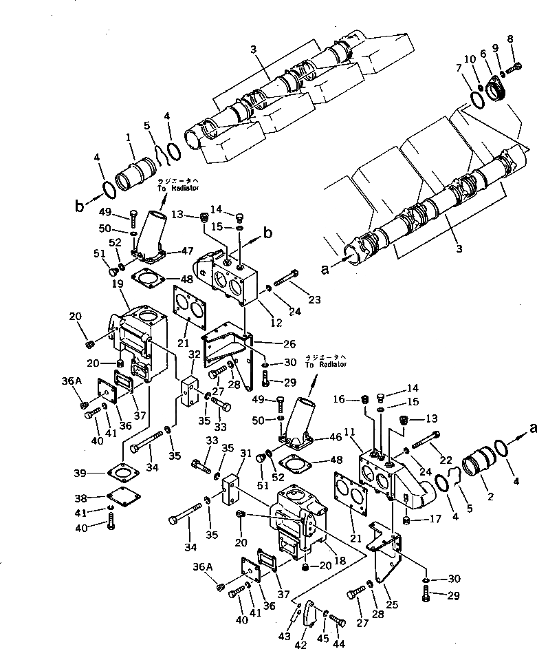
Запчасти Komatsu SA8V170-1B ВОДЯНОЙ КОЛЛЕКТОР ГОЛОВКА ЦИЛИНДРОВ

Схема запчастей Komatsu SA8V170-1B - ВОДЯНОЙ КОЛЛЕКТОР ГОЛОВКА ЦИЛИНДРОВ
FIT
1:1
100%

Артикул

Название

Примечание

Количество

1

6162-13-6270

PIPE,WATER

SN: 10007-UP

1шт.

2

6164-11-6290

TUBE,WATER

SN: 10007-UP

1шт.

3

6164-11-6270

TUBE,WATER

SN: 10007-UP

6шт.

4

6166-11-6290

O-RING (K1)

SN: 10383-UP

16шт.

|4

0

O-RING (K1)

SN: 10007-10382

16шт.

5

6162-13-6280

RING,SNAP

SN: 10007-UP

8шт.

6

6162-13-7120

COVER

SN: 10007-UP

1шт.

7

07000-02070

O-RING (K1)

SN: 10007-UP

1шт.

8

01010-31025

BOLT

SN: 10007-UP

1шт.

9

01602-01030

WASHER,SPRING

SN: 10007-UP

1шт.

10

01641-21016

WASHER

SN: 10239-UP

1шт.

|10

01643-01032

WASHER

SN: 10007-10238

1шт.

11

6164-11-6510

COVER

SN: 10007-UP

1шт.

12

6164-11-6531

COVER

SN: 10171-UP

1шт.

|12

0

COVER

SN: 10007-10170

1шт.

|$$16

(6164-11-6531{01011-31000(6))}

-1шт.

13

07043-00415

PLUG

SN: 10007-UP

2шт.

14

6672-12-6290

PLUG

SN: 10007-UP

2шт.

15

07005-01612

GASKET (K1)

SN: 10007-UP

2шт.

16

07043-00312

PLUG

SN: 10007-UP

1шт.

17

07043-50312

PLUG

SN: 10171-UP

1шт.

|17

07043-50312

PLUG

SN: 10007-10170

2шт.

18

6164-11-6412

CASE

SN: 10513-UP

1шт.

|18

0

CASE

SN: 10426-10512

1шт.

|18

0

CASE

SN: 10007-10425

1шт.

19

6164-11-6432

CASE

SN: 10513-UP

1шт.

|19

0

CASE

SN: 10426-10512

1шт.

|19

0

CASE

SN: 10007-10425

1шт.

20

07043-50108

PLUG

SN: 10007-UP

4шт.

21

6164-11-6451

GASKET (K1)

SN: 10513-UP

2шт.

|21

0

GASKET (K1)

SN: 10007-10512

2шт.

22

01011-31000

BOLT

SN: 10007-UP

6шт.

23

01011-31000

BOLT

SN: 10171-UP

6шт.

|23

01010-31095

BOLT

SN: 10007-10170

6шт.

24

01602-01030

WASHER,SPRING

SN: 10007-UP

12шт.

25

6164-21-6640

BRACKET

SN: 10007-UP

1шт.

26

6164-21-6740

BRACKET

SN: 10007-UP

1шт.

27

01010-31230

BOLT

SN: 10007-UP

6шт.

28

01602-01236

WASHER,SPRING

SN: 10007-UP

6шт.

29

01010-31030

BOLT

SN: 10007-UP

6шт.

30

01602-01030

WASHER,SPRING

SN: 10007-UP

6шт.

31

6164-21-6720

BRACKET

SN: 10007-UP

1шт.

32

6164-21-6730

BRACKET

SN: 10007-UP

1шт.

33

01010-31260

BOLT

SN: 10007-UP

4шт.

34

01011-31240

BOLT

SN: 10007-UP

2шт.

35

01602-01236

WASHER,SPRING

SN: 10007-UP

6шт.

36

6164-11-6250

COVER

SN: 10007-UP

2шт.

36A

07043-70617

PLUG

SN: 10196-UP

2шт.

37

6164-11-6750

GASKET (K1)

SN: 10007-UP

2шт.

38

6164-11-6260

COVER

SN: 10007-UP

1шт.

39

6164-61-6660

GASKET (K1)

SN: 10007-UP

1шт.

40

01010-31025

BOLT

SN: 10007-UP

12шт.

41

01602-01030

WASHER,SPRING

SN: 10007-UP

12шт.

42

6164-11-6580

FLANGE

SN: 10007-UP

1шт.

43

600-411-1670

O-RING (K1)

SN: 10007-UP

2шт.

44

01010-31030

BOLT

SN: 10007-UP

2шт.

45

01602-01030

WASHER,SPRING

SN: 10007-UP

2шт.

46

6164-11-6230

CONNECTOR,WATER

SN: 10007-UP

1шт.

47

6164-11-6220

CONNECTOR,WATER

SN: 10007-UP

1шт.

48

6164-11-6850

GASKET (K1)

SN: 10007-UP

2шт.

49

01010-31025

BOLT

SN: 10007-UP

8шт.

50

01602-01030

WASHER,SPRING

SN: 10007-UP

8шт.

51

07040-11209

PLUG

SN: 10007-UP

2шт.

52

07005-01212

GASKET (K1)

SN: 10007-UP

2шт.

Выбрано товаров: 64