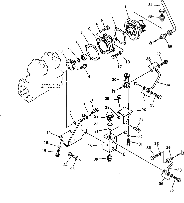
Запчасти Komatsu SA8V170-1B ТОПЛИВН. НАСОС ПРИВОД И ПОДКАЧИВАЮЩ. НАСОС(№9-) ТОПЛИВН. СИСТЕМА

Схема запчастей Komatsu SA8V170-1B - ТОПЛИВН. НАСОС ПРИВОД И ПОДКАЧИВАЮЩ. НАСОС(№9-) ТОПЛИВН. СИСТЕМА
FIT
1:1
100%

Артикул

Название

Примечание

Количество

1

6164-71-8100

FUEL PUMP ASS'Y,(SEE FIG.0410)

SN: 10007-UP

1шт.

2

6166-91-1240

CASE

SN: 10007-UP

1шт.

3

6166-91-1260

SHAFT

SN: 10007-UP

1шт.

4

6150-81-9120

BOLT

SN: 10007-UP

4шт.

6

6164-71-8110

COUPLING

SN: 10007-UP

1шт.

7

04065-02212

RING,SNAP

SN: 10007-UP

1шт.

8

6166-91-1250

GASKET (K2¤K8)

SN: 10007-UP

1шт.

9

01010-31025

BOLT

SN: 10007-UP

4шт.

10

01602-01030

WASHER,SPRING

SN: 10007-UP

4шт.

11

6166-91-1230

GASKET (K2)

SN: 10007-UP

1шт.

12

01010-31025

BOLT

SN: 10007-UP

4шт.

13

01602-01030

WASHER,SPRING

SN: 10007-UP

4шт.

14

6166-71-7432

BRACKET

SN: 10404-UP

1шт.

|14

0

BRACKET

SN: 10246-10403

1шт.

|14

0

BRACKET

SN: 10007-10245

1шт.

|$$16

(6166-71-7431{01640-01223)}

-1шт.

|$$17

(01010-31240)

-1шт.

15

01010-31025

BOLT

SN: 10246-UP

2шт.

|15

01010-31025

BOLT

SN: 10007-10245

4шт.

16

01602-01030

WASHER,SPRING

SN: 10246-UP

2шт.

|16

01602-01030

WASHER,SPRING

SN: 10007-10245

4шт.

17

01010-31240

BOLT

SN: 10246-UP

1шт.

|17

01010-31265

BOLT

SN: 10007-10245

1шт.

18

01602-01236

WASHER,SPRING

SN: 10007-UP

1шт.

19

01640-01223

WASHER

SN: 10246-UP

1шт.

|19

6144-81-6680

SPACER

SN: 10007-10245

1шт.

20

6166-71-7421

BODY

SN: 10129-UP

1шт.

21

04260-02540

BALL

SN: 10007-UP

1шт.

22

6166-71-7440

PLUG

SN: 10007-UP

1шт.

23

07002-43634

O-RING (K2)

SN: 10007-UP

1шт.

24

01010-31020

BOLT

SN: 10007-UP

2шт.

25

01602-01030

WASHER,SPRING

SN: 10007-UP

2шт.

26

6164-71-7650

BRACKET

SN: 10129-UP

1шт.

27

01010-30816

BOLT

SN: 10129-UP

1шт.

28

01010-30820

BOLT

SN: 10129-UP

2шт.

29

6141-81-4270

SPACER

SN: 10129-UP

2шт.

30

6164-71-8140

PUMP ASS'Y

SN: 10124-UP

1шт.

31

01010-30820

BOLT

SN: 10007-UP

2шт.

32

01602-00825

WASHER,SPRING

SN: 10007-UP

2шт.

33

6164-71-7660

TUBE

SN: 10129-UP

1шт.

34

6164-71-7670

TUBE

SN: 10129-UP

1шт.

35

07206-31014

BOLT,JOINT

SN: 10007-UP

4шт.

36

07005-01412

GASKET (K2)

SN: 10007-UP

8шт.

37

6164-71-8120

TUBE

SN: 10007-UP

1шт.

38

07213-51521

CONNECTOR

SN: 10007-UP

2шт.

39

07238-00628

CONNECTOR

SN: 10129-UP

1шт.

Выбрано товаров: 46