Запчасти Komatsu SA8V170-1B ВОЗВРАТ ТОПЛИВА ТРУБЫ(№8-) ТОПЛИВН. СИСТЕМА

Схема запчастей Komatsu SA8V170-1B - ВОЗВРАТ ТОПЛИВА ТРУБЫ(№8-) ТОПЛИВН. СИСТЕМА
FIT
1:1
100%

Артикул

Название

Примечание

Количество

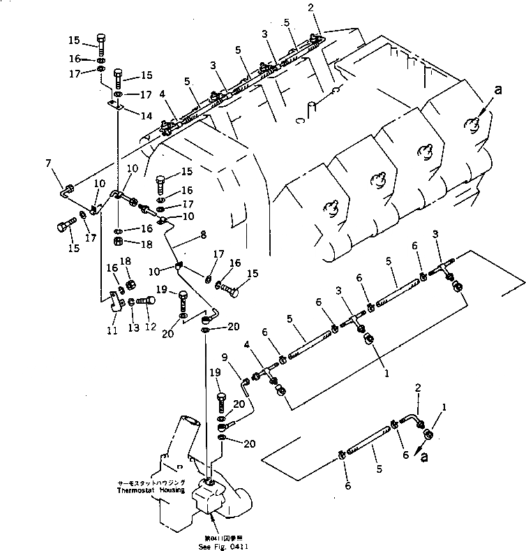
1

6162-73-5320

JOINT

SN: 10007-UP

8шт.

2

6162-13-3610

PIPE

SN: 10086-UP

2шт.

3

6162-13-3620

TUBE

SN: 10086-UP

4шт.

4

6164-71-5330

TUBE

SN: 10086-UP

2шт.

5

07270-20422

TUBE

SN: 10086-UP

6шт.

6

07285-00085

CLIP

SN: 10086-UP

12шт.

7

6164-71-6880

TUBE

SN: 10007-UP

1шт.

8

6164-71-6740

TUBE

SN: 10007-UP

1шт.

9

6164-71-6750

TUBE

SN: 10007-UP

1шт.

10

6164-71-5840

CLIP

SN: 10426-UP

4шт.

|10

6124-81-4521

CLIP

SN: 10007-10425

3шт.

11

6164-71-6990

BRACKET

SN: 10007-UP

1шт.

12

01010-31020

BOLT

SN: 10007-UP

1шт.

13

01602-01030

WASHER,SPRING

SN: 10007-UP

1шт.

14

6301-11-4630

PLATE

SN: 10007-UP

1шт.

15

01010-30816

BOLT

SN: 10426-UP

5шт.

|15

01010-30816

BOLT

SN: 10007-10425

4шт.

16

01602-00825

WASHER,SPRING

SN: 10426-UP

5шт.

|16

01602-00825

WASHER,SPRING

SN: 10007-10425

4шт.

17

01641-00816

WASHER

SN: 10426-UP

5шт.

|17

01641-00816

WASHER

SN: 10007-10425

4шт.

18

01580-00806

NUT

SN: 10007-UP

2шт.

19

07206-30508

BOLT,JOINT

SN: 10007-UP

2шт.

20

07005-00812

GASKET (K1)

SN: 10007-UP

4шт.

Выбрано товаров: 24