Запчасти Komatsu SA8V170-1C ГЛУШИТЕЛЬ И СОЕДИН-Е ГОЛОВКА ЦИЛИНДРОВ

Схема запчастей Komatsu SA8V170-1C - ГЛУШИТЕЛЬ И СОЕДИН-Е ГОЛОВКА ЦИЛИНДРОВ
FIT
1:1
100%

Артикул

Название

Примечание

Количество

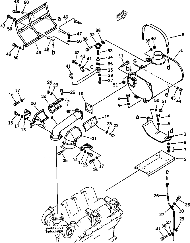
1

6164-12-6411

MUFFLER

SN: 10040-UP

1шт.

|1

0

MUFFLER

SN: (10040-10435)

1шт.

2

6164-12-6540

PLATE

SN: 10040-UP

1шт.

3

6164-12-6420

BRACKET

SN: 10040-UP

1шт.

4

01010-31235

BOLT

SN: 10040-UP

8шт.

5

01641-01223

WASHER

SN: 10040-UP

8шт.

6

6164-12-6430

BAND

SN: 10040-UP

1шт.

7

01580-01613

NUT

SN: 10040-UP

4шт.

8

01641-01626

WASHER

SN: 10040-UP

2шт.

9

6164-12-6510

CONNECTOR

SN: 10040-UP

1шт.

10

6164-12-6480

GASKET (K1)

SN: 10040-UP

1шт.

11

01050-61250

BOLT

SN: 10040-UP

4шт.

12

6128-81-2920

NUT

SN: 10040-UP

4шт.

13

6164-12-6530

BRACKET

SN: 10040-UP

1шт.

14

6164-12-6520

BRACKET

SN: 10040-UP

1шт.

15

01010-61025

BOLT

SN: 10040-UP

4шт.

16

01010-61025

BOLT

SN: 10040-UP

4шт.

17

01641-01016

WASHER

SN: 10040-UP

8шт.

18

6164-12-6570

COVER

SN: 10040-UP

1шт.

19

6164-12-6580

COVER

SN: 10040-UP

1шт.

20

6164-12-6470

COVER

SN: 10040-UP

1шт.

21

6164-12-6490

COVER

SN: 10040-UP

1шт.

22

6164-12-5310

BOLT

SN: 10251-UP

13шт.

|22

0

BOLT

SN: 10040-10250

13шт.

23

01640-01016

WASHER

SN: 10251-UP

26шт.

|23

0

WASHER

SN: 10040-10250

26шт.

24

01580-01008

NUT

SN: 10040-UP

13шт.

25

01010-61020

BOLT

SN: 10040-UP

4шт.

26

6164-12-6440

TUBE

SN: 10040-UP

1шт.

27

6991-11-5990

CLAMP

SN: 10040-UP

2шт.

28

01010-31016

BOLT

SN: 10040-UP

1шт.

29

6131-12-5920

SPACER

SN: 10040-UP

1шт.

30

01641-01016

WASHER

SN: 10040-UP

2шт.

31

01010-31040

BOLT

SN: 10040-UP

1шт.

|32

6162-13-5302

VALVE ASS'Y

SN: 10040-UP

1шт.

32

0

BODY

SN: 10040-UP

1шт.

33

0

VALVE

SN: 10040-UP

1шт.

34

0

SEAT

SN: 10040-UP

1шт.

35

6164-12-6450

PIPE

SN: 10040-UP

1шт.

36

6162-13-5610

GASKET (K1)

SN: 10040-UP

2шт.

37

01020-01030

BOLT

SN: 10040-UP

2шт.

38

01020-01035

BOLT

SN: 10040-UP

2шт.

39

01641-01016

WASHER

SN: 10040-UP

4шт.

40

01580-31008

NUT

SN: 10040-UP

2шт.

41

6164-12-5470

CLAMP

SN: 10040-UP

2шт.

42

01010-31030

BOLT

SN: 10040-UP

4шт.

43

01641-01016

WASHER

SN: 10040-UP

8шт.

44

01580-31008

NUT

SN: 10040-UP

4шт.

45

6164-12-6550

PLATE

SN: 10040-UP

1шт.

46

6164-12-6560

BRACKET

SN: 10040-UP

3шт.

47

01010-31025

BOLT

SN: 10040-UP

6шт.

48

01010-31035

BOLT

SN: 10040-UP

2шт.

49

01010-31030

BOLT

SN: 10040-UP

3шт.

50

01643-31032

WASHER

SN: 10040-UP

16шт.

51

01580-01008

NUT

SN: 10040-UP

5шт.

1

6164-12-6411

MUFFLER

SN: 10040-UP

1шт.

|1

0

MUFFLER

SN: (10040-10435)

1шт.

2

6164-12-6540

PLATE

SN: 10040-UP

1шт.

3

6164-12-6420

BRACKET

SN: 10040-UP

1шт.

4

01010-31235

BOLT

SN: 10040-UP

8шт.

5

01641-01223

WASHER

SN: 10040-UP

8шт.

6

6164-12-6430

BAND

SN: 10040-UP

1шт.

7

01580-01613

NUT

SN: 10040-UP

4шт.

8

01641-01626

WASHER

SN: 10040-UP

2шт.

9

6164-12-6510

CONNECTOR

SN: 10040-UP

1шт.

10

6164-12-6480

GASKET (K1)

SN: 10040-UP

1шт.

11

01050-61250

BOLT

SN: 10040-UP

4шт.

12

6128-81-2920

NUT

SN: 10040-UP

4шт.

13

6164-12-6530

BRACKET

SN: 10040-UP

1шт.

14

6164-12-6520

BRACKET

SN: 10040-UP

1шт.

15

01010-61025

BOLT

SN: 10040-UP

4шт.

16

01010-61025

BOLT

SN: 10040-UP

4шт.

17

01641-01016

WASHER

SN: 10040-UP

8шт.

18

6164-12-6570

COVER

SN: 10040-UP

1шт.

19

6164-12-6580

COVER

SN: 10040-UP

1шт.

20

6164-12-6470

COVER

SN: 10040-UP

1шт.

21

6164-12-6490

COVER

SN: 10040-UP

1шт.

22

6164-12-5310

BOLT

SN: 10251-UP

13шт.

|22

0

BOLT

SN: 10040-10250

13шт.

23

01640-01016

WASHER

SN: 10251-UP

26шт.

|23

0

WASHER

SN: 10040-10250

26шт.

24

01580-01008

NUT

SN: 10040-UP

13шт.

25

01010-61020

BOLT

SN: 10040-UP

4шт.

26

6164-12-6440

TUBE

SN: 10040-UP

1шт.

27

6991-11-5990

CLAMP

SN: 10040-UP

2шт.

28

01010-31016

BOLT

SN: 10040-UP

1шт.

29

6131-12-5920

SPACER

SN: 10040-UP

1шт.

30

01641-01016

WASHER

SN: 10040-UP

2шт.

31

01010-31040

BOLT

SN: 10040-UP

1шт.

|32

6162-13-5302

VALVE ASS'Y

SN: 10040-UP

1шт.

32

0

BODY

SN: 10040-UP

1шт.

33

0

VALVE

SN: 10040-UP

1шт.

34

0

SEAT

SN: 10040-UP

1шт.

35

6164-12-6450

PIPE

SN: 10040-UP

1шт.

36

6162-13-5610

GASKET (K1)

SN: 10040-UP

2шт.

37

01020-01030

BOLT

SN: 10040-UP

2шт.

38

01020-01035

BOLT

SN: 10040-UP

2шт.

39

01641-01016

WASHER

SN: 10040-UP

4шт.

40

01580-31008

NUT

SN: 10040-UP

2шт.

41

6164-12-5470

CLAMP

SN: 10040-UP

2шт.

42

01010-31030

BOLT

SN: 10040-UP

4шт.

43

01641-01016

WASHER

SN: 10040-UP

8шт.

44

01580-31008

NUT

SN: 10040-UP

4шт.

45

6164-12-6550

PLATE

SN: 10040-UP

1шт.

46

6164-12-6560

BRACKET

SN: 10040-UP

3шт.

47

01010-31025

BOLT

SN: 10040-UP

6шт.

48

01010-31035

BOLT

SN: 10040-UP

2шт.

49

01010-31030

BOLT

SN: 10040-UP

3шт.

50

01643-31032

WASHER

SN: 10040-UP

16шт.

51

01580-01008

NUT

SN: 10040-UP

5шт.

Выбрано товаров: 110