Запчасти Komatsu SA8V170-1C СИСТЕМА ПОДОГРЕВА ВПУСКН. КОЛЛЕКТОРА (/)(№-) ТОПЛИВН. СИСТЕМА

Схема запчастей Komatsu SA8V170-1C - СИСТЕМА ПОДОГРЕВА ВПУСКН. КОЛЛЕКТОРА (/)(№-) ТОПЛИВН. СИСТЕМА
FIT
1:1
100%

Артикул

Название

Примечание

Количество

|1

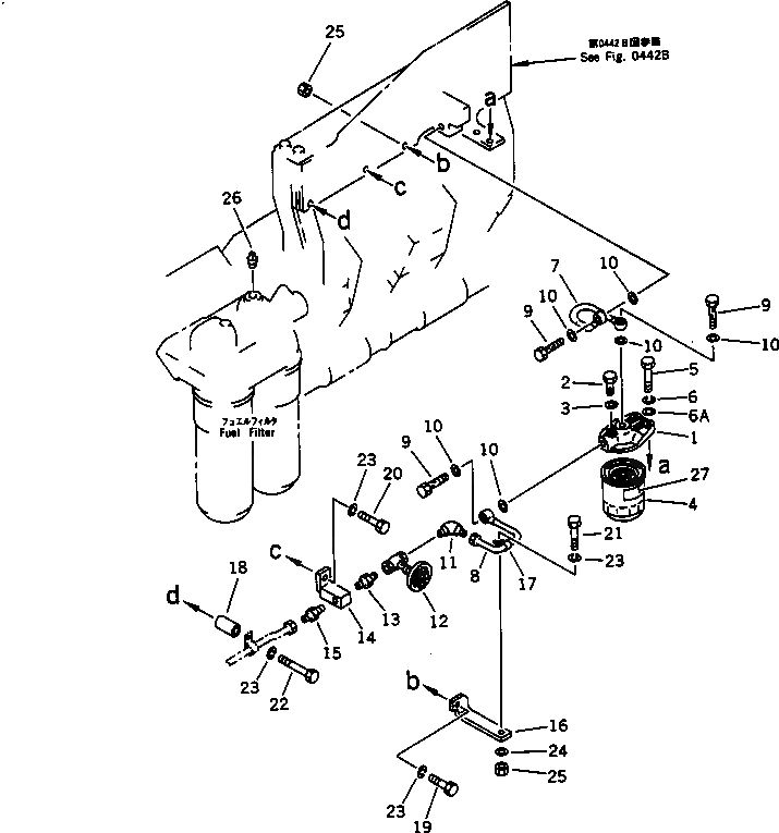
600-815-6350

FUEL FILTER ASS'Y

SN: 10253-UP

1шт.

1

6136-71-6110

HEAD

SN: 10040-UP

1шт.

2

600-311-6720

PLUG

SN: 10040-UP

1шт.

3

07005-00812

GASKET

SN: 10040-UP

1шт.

4

600-311-6230

CARTRIDGE

SN: 10253-UP

1шт.

5

01010-31030

BOLT

SN: 10040-UP

2шт.

6

01602-01030

WASHER,SPRING

SN: 10040-UP

2шт.

6A

01640-01016

WASHER

SN: 10040-UP

2шт.

7

6164-81-5950

TUBE

SN: 10040-UP

1шт.

8

6164-81-5940

TUBE

SN: 10040-UP

1шт.

9

07206-31014

BOLT,JOINT

SN: 10433-UP

3шт.

10

07005-01412

GASKET (K2)

SN: 10433-UP

6шт.

11

07217-51013

ELBOW

SN: 10040-UP

1шт.

12

6128-81-4810

VALVE

SN: 10040-UP

1шт.

13

6128-81-4450

NIPPLE

SN: 10040-UP

1шт.

14

6164-81-5540

JOINT

SN: 10040-UP

1шт.

15

07214-51013

CONNECTOR

SN: 10433-UP

1шт.

16

6164-81-5530

STAY

SN: 10040-UP

1шт.

17

6164-81-5270

CLAMP

SN: 10433-UP

1шт.

18

6142-22-4640

SPACER

SN: 10040-UP

1шт.

19

01010-31030

BOLT

SN: 10040-UP

1шт.

20

01010-31020

BOLT

SN: 10040-UP

1шт.

21

01010-31025

BOLT

SN: 10040-UP

1шт.

22

01010-31065

BOLT

SN: 10040-UP

1шт.

23

01602-01030

WASHER,SPRING

SN: 10040-UP

4шт.

24

01640-01016

WASHER

SN: 10040-UP

1шт.

25

01580-01008

NUT

SN: 10040-UP

2шт.

26

07042-00211

PLUG

SN: 10433-UP

1шт.

27

600-311-1510

PLATE¤ CAUTION

SN: 10253-UP

1шт.

|1

600-815-6350

FUEL FILTER ASS'Y

SN: 10253-UP

1шт.

1

6136-71-6110

HEAD

SN: 10040-UP

1шт.

2

600-311-6720

PLUG

SN: 10040-UP

1шт.

3

07005-00812

GASKET

SN: 10040-UP

1шт.

4

600-311-6230

CARTRIDGE

SN: 10253-UP

1шт.

5

01010-31030

BOLT

SN: 10040-UP

2шт.

6

01602-01030

WASHER,SPRING

SN: 10040-UP

2шт.

6A

01640-01016

WASHER

SN: 10040-UP

2шт.

7

6164-81-5950

TUBE

SN: 10040-UP

1шт.

8

6164-81-5940

TUBE

SN: 10040-UP

1шт.

9

07206-31014

BOLT,JOINT

SN: 10433-UP

3шт.

10

07005-01412

GASKET (K2)

SN: 10433-UP

6шт.

11

07217-51013

ELBOW

SN: 10040-UP

1шт.

12

6128-81-4810

VALVE

SN: 10040-UP

1шт.

13

6128-81-4450

NIPPLE

SN: 10040-UP

1шт.

14

6164-81-5540

JOINT

SN: 10040-UP

1шт.

15

07214-51013

CONNECTOR

SN: 10433-UP

1шт.

16

6164-81-5530

STAY

SN: 10040-UP

1шт.

17

6164-81-5270

CLAMP

SN: 10433-UP

1шт.

18

6142-22-4640

SPACER

SN: 10040-UP

1шт.

19

01010-31030

BOLT

SN: 10040-UP

1шт.

20

01010-31020

BOLT

SN: 10040-UP

1шт.

21

01010-31025

BOLT

SN: 10040-UP

1шт.

22

01010-31065

BOLT

SN: 10040-UP

1шт.

23

01602-01030

WASHER,SPRING

SN: 10040-UP

4шт.

24

01640-01016

WASHER

SN: 10040-UP

1шт.

25

01580-01008

NUT

SN: 10040-UP

2шт.

26

07042-00211

PLUG

SN: 10433-UP

1шт.

27

600-311-1510

PLATE¤ CAUTION

SN: 10253-UP

1шт.

Выбрано товаров: 58