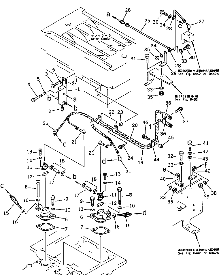
Запчасти Komatsu SA8V170-1C СИСТЕМА ПОДОГРЕВА ВПУСКН. КОЛЛЕКТОРА (/)(№-) ТОПЛИВН. СИСТЕМА

Схема запчастей Komatsu SA8V170-1C - СИСТЕМА ПОДОГРЕВА ВПУСКН. КОЛЛЕКТОРА (/)(№-) ТОПЛИВН. СИСТЕМА
FIT
1:1
100%

Артикул

Название

Примечание

Количество

1

6164-81-5580

BRACKET

SN: 10040-@

1шт.

2

07042-50211

PLUG

SN: 10040-@

1шт.

3

01010-30820

BOLT

SN: 10040-@

1шт.

4

01010-30850

BOLT

SN: 10040-@

1шт.

5

01602-00825

WASHER,SPRING

SN: 10040-@

2шт.

6

6164-81-4910

ADAPTER

SN: 10040-@

2шт.

7

6164-61-6360

GASKET (K1)

SN: 10040-@

2шт.

8

01010-31055

BOLT

SN: 10293-@

2шт.

|8

01010-31060

BOLT

SN: 10040-10292

2шт.

9

01010-31030

BOLT

SN: 10293-@

2шт.

|9

01010-31035

BOLT

SN: 10040-10292

2шт.

10

01602-01030

WASHER,SPRING

SN: 10040-10292

4шт.

11

6128-81-4630

NOZZLE

SN: 10040-@

2шт.

12

6128-81-4620

GASKET (K2)

SN: 10040-@

2шт.

13

01252-30616

BOLT

SN: 10040-@

4шт.

14

01602-00619

WASHER,SPRING

SN: 10040-@

4шт.

15

600-815-2180

GLOW PLUG

SN: 10040-@

2шт.

16

600-815-2190

GASKET (K2)

SN: 10040-@

2шт.

17

6164-81-5770

HOSE

SN: 10040-@

2шт.

18

07281-00137

CLAMP

SN: 10040-@

4шт.

19

6164-81-5920

WIRE ASS'Y

SN: 10114-@

1шт.

|19

6164-81-5930

WIRE ASS'Y

SN: 10040-10113

1шт.

20

6164-81-5920

WIRE ASS'Y

SN: 10040-@

1шт.

21

600-400-0990

CAP

SN: 10040-@

4шт.

22

08036-21414

CLIP

SN: 10433-@

2шт.

|22

0

CLIP

SN: 10040-10432

2шт.

23

6141-64-2560

SPACER

SN: 10040-@

2шт.

24

01435-20825

BOLT

SN: 10040-@

2шт.

25

6164-81-5570

TUBE

SN: 10040-@

1шт.

26

07214-50813

CONNECTOR

SN: 10040-@

1шт.

27

07217-50813

ELBOW

SN: 10040-@

1шт.

28

6127-81-2841

CLAMP

SN: 10040-10432

2шт.

29

6150-65-8580

BRACKET

SN: 10040-10432

1шт.

30

01010-31020

BOLT

SN: 10040-@

2шт.

31

01010-31025

BOLT

SN: 10040-10432

1шт.

32

01010-31025

BOLT

SN: 10040-@

1шт.

33

01602-01030

WASHER,SPRING

SN: 10040-10432

4шт.

34

01641-01016

WASHER

SN: 10040-@

2шт.

35

01580-01008

NUT

SN: 10040-10432

3шт.

36

600-050-2620

CLIP

SN: 10040-@

2шт.

37

01435-21025

BOLT

SN: 10040-@

1шт.

38

01641-01016

WASHER

SN: 10040-@

1шт.

39

01580-01008

NUT

SN: 10040-@

1шт.

40

6127-11-4421

PLATE

SN: 10040-@

2шт.

41

01010-31035

BOLT

SN: 10040-@

1шт.

42

01602-01030

WASHER,SPRING

SN: 10040-@

1шт.

43

01641-01016

WASHER

SN: 10040-@

1шт.

44

08036-31214

CLIP

SN: 10040-@

1шт.

45

6631-11-5630

SPACER

SN: 10040-@

1шт.

46

01435-21035

BOLT

SN: 10040-10432

1шт.

1

6164-81-5580

BRACKET

SN: 10040-@

1шт.

2

07042-50211

PLUG

SN: 10040-@

1шт.

3

01010-30820

BOLT

SN: 10040-@

1шт.

4

01010-30850

BOLT

SN: 10040-@

1шт.

5

01602-00825

WASHER,SPRING

SN: 10040-@

2шт.

6

6164-81-4910

ADAPTER

SN: 10040-@

2шт.

7

6164-61-6360

GASKET (K1)

SN: 10040-@

2шт.

8

01010-31055

BOLT

SN: 10293-@

2шт.

|8

01010-31060

BOLT

SN: 10040-10292

2шт.

9

01010-31030

BOLT

SN: 10293-@

2шт.

|9

01010-31035

BOLT

SN: 10040-10292

2шт.

10

01602-01030

WASHER,SPRING

SN: 10040-10292

4шт.

11

6128-81-4630

NOZZLE

SN: 10040-@

2шт.

12

6128-81-4620

GASKET (K2)

SN: 10040-@

2шт.

13

01252-30616

BOLT

SN: 10040-@

4шт.

14

01602-00619

WASHER,SPRING

SN: 10040-@

4шт.

15

600-815-2180

GLOW PLUG

SN: 10040-@

2шт.

16

600-815-2190

GASKET (K2)

SN: 10040-@

2шт.

17

6164-81-5770

HOSE

SN: 10040-@

2шт.

18

07281-00137

CLAMP

SN: 10040-@

4шт.

19

6164-81-5920

WIRE ASS'Y

SN: 10114-@

1шт.

|19

6164-81-5930

WIRE ASS'Y

SN: 10040-10113

1шт.

20

6164-81-5920

WIRE ASS'Y

SN: 10040-@

1шт.

21

600-400-0990

CAP

SN: 10040-@

4шт.

22

08036-21414

CLIP

SN: 10433-@

2шт.

|22

0

CLIP

SN: 10040-10432

2шт.

23

6141-64-2560

SPACER

SN: 10040-@

2шт.

24

01435-20825

BOLT

SN: 10040-@

2шт.

25

6164-81-5570

TUBE

SN: 10040-@

1шт.

26

07214-50813

CONNECTOR

SN: 10040-@

1шт.

27

07217-50813

ELBOW

SN: 10040-@

1шт.

28

6127-81-2841

CLAMP

SN: 10040-10432

2шт.

29

6150-65-8580

BRACKET

SN: 10040-10432

1шт.

30

01010-31020

BOLT

SN: 10040-@

2шт.

31

01010-31025

BOLT

SN: 10040-10432

1шт.

32

01010-31025

BOLT

SN: 10040-@

1шт.

33

01602-01030

WASHER,SPRING

SN: 10040-10432

4шт.

34

01641-01016

WASHER

SN: 10040-@

2шт.

35

01580-01008

NUT

SN: 10040-10432

3шт.

36

600-050-2620

CLIP

SN: 10040-@

2шт.

37

01435-21025

BOLT

SN: 10040-@

1шт.

38

01641-01016

WASHER

SN: 10040-@

1шт.

39

01580-01008

NUT

SN: 10040-@

1шт.

40

6127-11-4421

PLATE

SN: 10040-@

2шт.

41

01010-31035

BOLT

SN: 10040-@

1шт.

42

01602-01030

WASHER,SPRING

SN: 10040-@

1шт.

43

01641-01016

WASHER

SN: 10040-@

1шт.

44

08036-31214

CLIP

SN: 10040-@

1шт.

45

6631-11-5630

SPACER

SN: 10040-@

1шт.

46

01435-21035

BOLT

SN: 10040-10432

1шт.

Выбрано товаров: 100