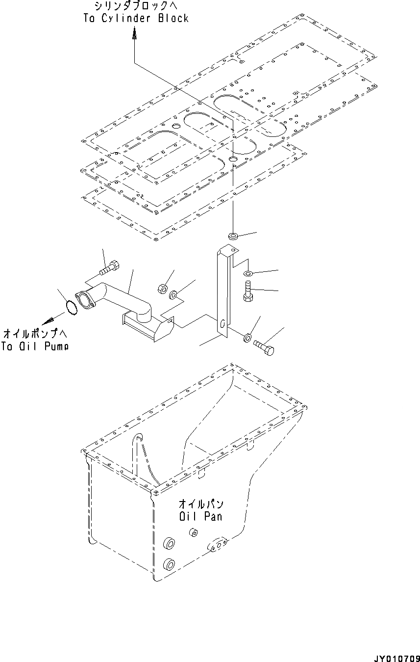
Запчасти Komatsu SAA12V140E-3B ПОДДОН ДВИГ-ЛЯ, ВСАСЫВАЮЩИЙ ПАТРУБОК (№-) ПОДДОН ДВИГ-ЛЯ

Схема запчастей Komatsu SAA12V140E-3B - ПОДДОН ДВИГ-ЛЯ, ВСАСЫВАЮЩИЙ ПАТРУБОК (№-) ПОДДОН ДВИГ-ЛЯ
7
1
9
2
4
10
6
5
8
9
3
FIT
1:1
100%

Артикул

Название

Примечание

Количество

1

6215-51-6362

Tube, Suction

SN: 502254-UP

1шт.

2

07000-E2080

O-ring

SN: 502254-UP

1шт.

3

01010-81235

Bolt

SN: 502254-UP

2шт.

4

6215-51-6241

Bracket

SN: 502254-UP

1шт.

5

01010-81030

Bolt

SN: 502254-UP

1шт.

6

01643-31032

Washer

SN: 502254-UP

1шт.

7

01010-81030

Bolt

SN: 502254-UP

1шт.

8

01580-01008

Nut

SN: 502254-UP

1шт.

9

6110-23-6490

Spacer

SN: 502254-UP

2шт.

10

6141-25-3770

Washer

SN: 502254-UP

1шт.

Выбрано товаров: 10