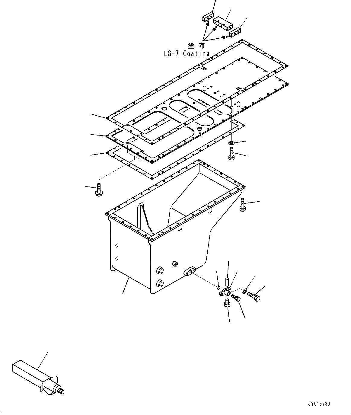
Запчасти Komatsu SAA12V140E-3B ПОДДОН ДВИГ-ЛЯ, МАСЛЯНЫЙ ПОДДОН (№77-) ПОДДОН ДВИГ-ЛЯ, ДЛЯ ХОЛОДН. AREA СПЕЦ-ЯIFICATION A (- DEG C), ПОДДОН ДВИГ-ЛЯ И ПОДОГРЕВАТЕЛЬ ХЛАДАГЕНТА, ДВИГАТЕЛЬ PRE-СМАЗКА СИСТЕМА

Схема запчастей Komatsu SAA12V140E-3B - ПОДДОН ДВИГ-ЛЯ, МАСЛЯНЫЙ ПОДДОН (№77-) ПОДДОН ДВИГ-ЛЯ, ДЛЯ ХОЛОДН. AREA СПЕЦ-ЯIFICATION A (- DEG C), ПОДДОН ДВИГ-ЛЯ И ПОДОГРЕВАТЕЛЬ ХЛАДАГЕНТА, ДВИГАТЕЛЬ PRE-СМАЗКА СИСТЕМА
10
9
1
4
3
4
2
6
15
13
11
14
12
16
17
7
8
5
18
FIT
1:1
100%

Артикул

Название

Примечание

Количество

1

6215-21-5210

Pan, Oil

SN: 505077-UP

1шт.

2

6215-21-5121

Plate, Under

SN: 505077-UP

1шт.

3

6215-21-5130

Plate

SN: 505077-UP

1шт.

4

6215-21-5140

Plate

SN: 505077-UP

2шт.

5

6215-21-5811

Gasket

SN: 505077-UP

1шт.

6

6215-21-5820

Gasket

SN: 505077-UP

1шт.

7

01010-81025

Bolt

SN: 505077-UP

26шт.

8

01643-31032

Washer

SN: 505077-UP

26шт.

9

01010-81035

Bolt

SN: 505077-UP

40шт.

10

01435-01020

Bolt

SN: 505077-UP

2шт.

|$10

6693-22-5600

Valve Assembly

SN: 505077-UP

1шт.

11

Body

SN: 505077-UP

1шт.

12

Valve

SN: 505077-UP

1шт.

13

07040-02412

Plug

SN: 505077-UP

1шт.

14

04020-00514

Pin, Dowel

SN: 505077-UP

1шт.

15

07000-73028

O-ring

SN: 505077-UP

1шт.

16

01010-81025

Bolt

SN: 505077-UP

2шт.

17

01643-31032

Washer

SN: 505077-UP

2шт.

18

09920-00150

Liquid gasket, LG-7, 150G

SN: 505077-UP

-2шт.

Выбрано товаров: 19