Запчасти Komatsu SAA12V140E-3C ПОДДОН ДВИГ-ЛЯ КРЕПЛЕНИЕ, МАСЛЯНЫЙ ПОДДОН (№-) ПОДДОН ДВИГ-ЛЯ КРЕПЛЕНИЕ

Схема запчастей Komatsu SAA12V140E-3C - ПОДДОН ДВИГ-ЛЯ КРЕПЛЕНИЕ, МАСЛЯНЫЙ ПОДДОН (№-) ПОДДОН ДВИГ-ЛЯ КРЕПЛЕНИЕ
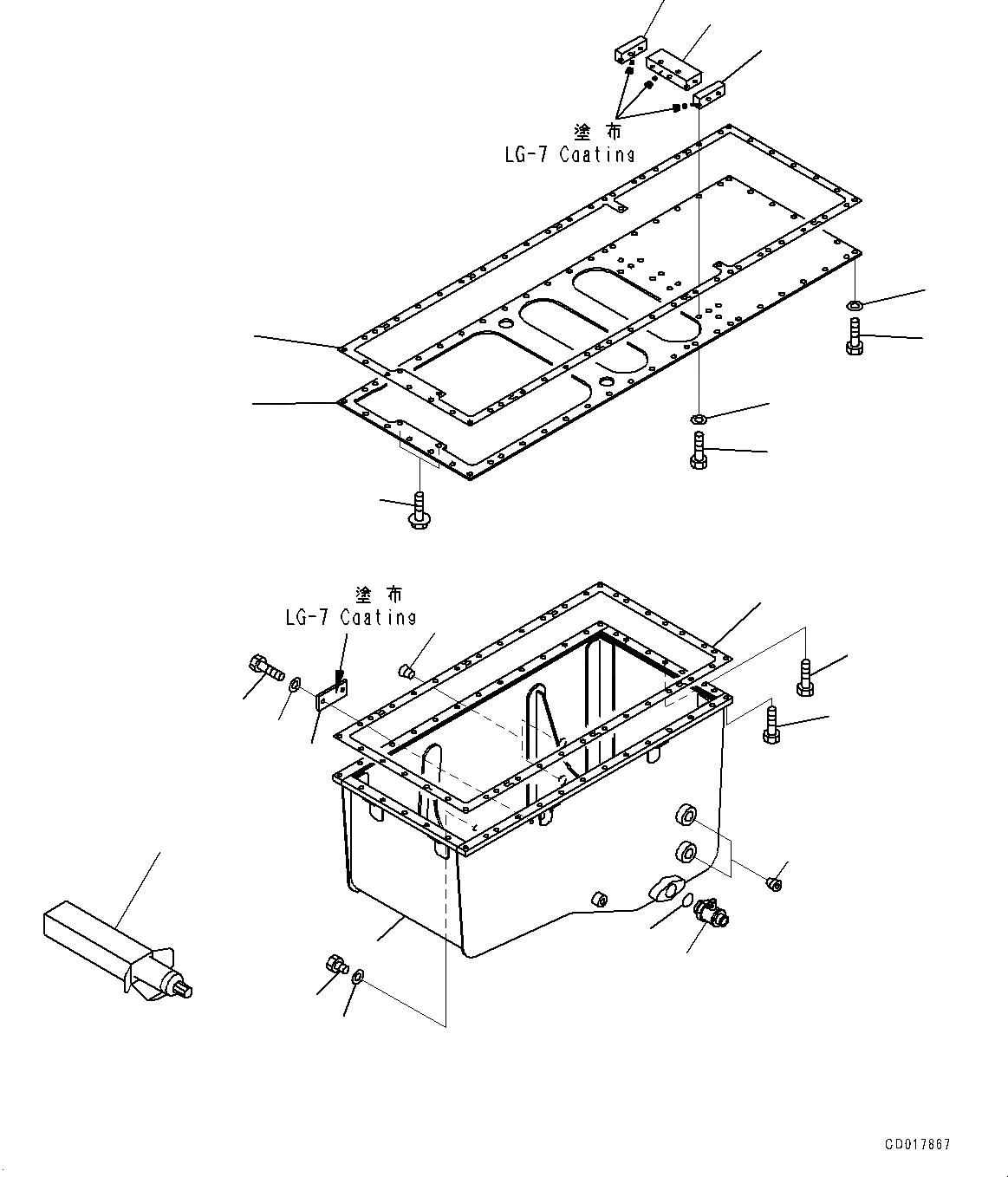
1
2
3
4
5
6
7
8
9
11
10
13
19
18
20
12
12
14
15
4
8
9
16
17
FIT
1:1
100%

Артикул

Название

Примечание

Количество

1

6219-21-5110

Pan, Oil

SN: 502106-UP

1шт.

2

6215-21-5121

Plate, Under

SN: 502106-UP

1шт.

3

6215-21-5130

Plate

SN: 502106-UP

1шт.

4

6215-21-5140

Plate

SN: 502106-UP

2шт.

5

6215-21-5811

Gasket

SN: 502106-UP

1шт.

6

6215-21-5820

Gasket

SN: 502106-UP

1шт.

7

01010-81040

Bolt

SN: 502106-UP

35шт.

8

01010-81025

Bolt

SN: 502106-UP

26шт.

9

01643-31032

Washer

SN: 502106-UP

26шт.

10

01010-81035

Bolt

SN: 502106-UP

5шт.

11

01435-01020

Bolt

SN: 502106-UP

2шт.

12

02720-41616

Plug

SN: 502106-UP

4шт.

13

6215-21-5160

Cover

SN: 502106-UP

1шт.

14

01010-81025

Bolt

SN: 502106-UP

2шт.

15

01643-31032

Washer

SN: 502106-UP

2шт.

16

07040-11409

Plug

SN: 502106-UP

1шт.

17

07005-01412

Seal, Washer

SN: 502106-UP

1шт.

18

21T-01-31490

Valve, Drain

SN: 502106-UP

1шт.

19

07002-23634

O-ring

SN: 502106-UP

1шт.

20

09920-00150

Liquid gasket, LG-7, 150G

SN: 502106-UP

-2шт.

Выбрано товаров: 20