Запчасти Komatsu SAA12V140E-3E-02 КРЕПЛЕНИЕ ГЕНЕРАТОРА (9A)(№7-) ДВИГАТЕЛЬ

Схема запчастей Komatsu SAA12V140E-3E-02 - КРЕПЛЕНИЕ ГЕНЕРАТОРА (9A)(№7-) ДВИГАТЕЛЬ
1
2
3
4
5
6
7
7
8
9
10
10
11
12
13
14
15
16
17
18
18
19
20
21
22
23
24
25
26
27
28
29
30
31
31
32
33
34
35
36
37
38
38
39
40
41
42
43
44
45
1
2
3
4
5
6
7
7
8
9
10
10
11
12
13
14
15
16
17
18
18
19
20
21
22
23
24
25
26
27
28
29
30
31
31
32
33
34
35
36
37
38
38
39
40
41
42
43
44
45
FIT
1:1
100%

Артикул

Название

Примечание

Количество

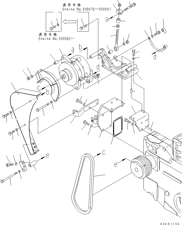
1

600-825-9330

ALTERNATOR A. (90A),(SEE FIG.A6010-B7C3)

SN: 500076-UP

1шт.

2

6217-81-6840

BOLT

SN: 500076-UP

1шт.

3

01640-21323

WASHER

SN: 500562-UP

1шт.

3

01640-21323

WASHER

SN: 500076-500561

2шт.

4

6215-81-6180

BOLT

SN: 500076-UP

1шт.

5

01580-01008

NUT

SN: 500076-UP

1шт.

6

01643-31232

WASHER

SN: 500562-UP

1шт.

6

01643-01032

WASHER

SN: 500076-500561

1шт.

7

01010-81260

BOLT

SN: 500562-UP

1шт.

7

01010-81255

BOLT

SN: 500076-500561

1шт.

8

01643-31232

WASHER

SN: 500562-UP

1шт.

9

6215-81-6131

ROD,ADJUSTING

SN: 500076-UP

1шт.

10

01580-11411

NUT

SN: 500076-UP

2шт.

11

6215-81-6141

PLATE

SN: 500076-UP

1шт.

12

01580-11210

NUT

SN: 500076-UP

1шт.

13

01643-31232

WASHER

SN: 500076-UP

1шт.

14

6215-81-6150

PIN

SN: 500076-UP

1шт.

15

6130-22-3940

SPACER

SN: 500076-UP

1шт.

16

6164-11-5590

SPACER

SN: 500076-UP

1шт.

17

6261-81-6890

BRACKET

SN: 500076-UP

1шт.

18

6219-81-8170

WIRE

SN: 500076-UP

1шт.

19

01010-81020

BOLT

SN: 500562-UP

1шт.

19

01010-81020

BOLT

SN: 500076-500561

2шт.

20

01643-31032

WASHER

SN: 500562-UP

1шт.

20

01643-31032

WASHER

SN: 500076-500561

2шт.

21

6219-81-6810

BRACKET

SN: 500076-UP

1шт.

22

01010-81030

BOLT

SN: 500076-UP

4шт.

23

01643-31032

WASHER

SN: 500076-UP

4шт.

24

6219-81-6442

BRACKET

SN: 501103-UP

1шт.

24

0

BRACKET

SN: 500076-501102

1шт.

25

6215-81-6190

GASKET (K2)

SN: 500076-UP

1шт.

26

6219-81-6190

BRACKET

SN: 500076-UP

1шт.

27

01010-81035

BOLT

SN: 500076-UP

6шт.

28

01643-31032

WASHER

SN: 500076-UP

6шт.

29

01010-81030

BOLT

SN: 500076-UP

2шт.

30

01643-31032

WASHER

SN: 500076-UP

2шт.

31

04020-00820

PIN

SN: 500076-UP

4шт.

32

6219-81-6840

BRACKET

SN: 500076-UP

1шт.

33

01010-81040

BOLT

SN: 500076-UP

2шт.

34

01643-31032

WASHER

SN: 500076-UP

2шт.

35

6219-81-6881

COVER

SN: 502227-UP

1шт.

35

6219-81-6880

COVER

SN: 500076-502226

1шт.

36

01010-81230

BOLT

SN: 502227-UP

1шт.

37

01010-81225

BOLT

SN: 502227-UP

1шт.

37

01010-81230

BOLT

SN: 500076-502226

2шт.

38

419-43-17920

WASHER

SN: 502227-UP

2шт.

38

01643-31232

WASHER

SN: 500076-502226

2шт.

39

01643-31232

WASHER

SN: 500076-UP

1шт.

40

01011-81270

BOLT

SN: 500076-UP

1шт.

41

6219-81-6870

SPACER

SN: 500076-UP

1шт.

42

6219-81-6860

BRACKET

SN: 500076-UP

1шт.

43

01010-81055

BOLT

SN: 500076-UP

2шт.

44

01643-31032

WASHER

SN: 500076-UP

2шт.

45

04120-21951

V-BELT

SN: 500076-UP

1шт.

1

600-825-9330

ALTERNATOR A. (90A),(SEE FIG.A6010-B7C3)

SN: 500076-UP

1шт.

2

6217-81-6840

BOLT

SN: 500076-UP

1шт.

3

01640-21323

WASHER

SN: 500562-UP

1шт.

3

01640-21323

WASHER

SN: 500076-500561

2шт.

4

6215-81-6180

BOLT

SN: 500076-UP

1шт.

5

01580-01008

NUT

SN: 500076-UP

1шт.

6

01643-31232

WASHER

SN: 500562-UP

1шт.

6

01643-01032

WASHER

SN: 500076-500561

1шт.

7

01010-81260

BOLT

SN: 500562-UP

1шт.

7

01010-81255

BOLT

SN: 500076-500561

1шт.

8

01643-31232

WASHER

SN: 500562-UP

1шт.

9

6215-81-6131

ROD,ADJUSTING

SN: 500076-UP

1шт.

10

01580-11411

NUT

SN: 500076-UP

2шт.

11

6215-81-6141

PLATE

SN: 500076-UP

1шт.

12

01580-11210

NUT

SN: 500076-UP

1шт.

13

01643-31232

WASHER

SN: 500076-UP

1шт.

14

6215-81-6150

PIN

SN: 500076-UP

1шт.

15

6130-22-3940

SPACER

SN: 500076-UP

1шт.

16

6164-11-5590

SPACER

SN: 500076-UP

1шт.

17

6261-81-6890

BRACKET

SN: 500076-UP

1шт.

18

6219-81-8170

WIRE

SN: 500076-UP

1шт.

19

01010-81020

BOLT

SN: 500562-UP

1шт.

19

01010-81020

BOLT

SN: 500076-500561

2шт.

20

01643-31032

WASHER

SN: 500562-UP

1шт.

20

01643-31032

WASHER

SN: 500076-500561

2шт.

21

6219-81-6810

BRACKET

SN: 500076-UP

1шт.

22

01010-81030

BOLT

SN: 500076-UP

4шт.

23

01643-31032

WASHER

SN: 500076-UP

4шт.

24

6219-81-6442

BRACKET

SN: 501103-UP

1шт.

24

0

BRACKET

SN: 500076-501102

1шт.

25

6215-81-6190

GASKET (K2)

SN: 500076-UP

1шт.

26

6219-81-6190

BRACKET

SN: 500076-UP

1шт.

27

01010-81035

BOLT

SN: 500076-UP

6шт.

28

01643-31032

WASHER

SN: 500076-UP

6шт.

29

01010-81030

BOLT

SN: 500076-UP

2шт.

30

01643-31032

WASHER

SN: 500076-UP

2шт.

31

04020-00820

PIN

SN: 500076-UP

4шт.

32

6219-81-6840

BRACKET

SN: 500076-UP

1шт.

33

01010-81040

BOLT

SN: 500076-UP

2шт.

34

01643-31032

WASHER

SN: 500076-UP

2шт.

35

6219-81-6881

COVER

SN: 502227-UP

1шт.

35

6219-81-6880

COVER

SN: 500076-502226

1шт.

36

01010-81230

BOLT

SN: 502227-UP

1шт.

37

01010-81225

BOLT

SN: 502227-UP

1шт.

37

01010-81230

BOLT

SN: 500076-502226

2шт.

38

419-43-17920

WASHER

SN: 502227-UP

2шт.

38

01643-31232

WASHER

SN: 500076-502226

2шт.

39

01643-31232

WASHER

SN: 500076-UP

1шт.

40

01011-81270

BOLT

SN: 500076-UP

1шт.

41

6219-81-6870

SPACER

SN: 500076-UP

1шт.

42

6219-81-6860

BRACKET

SN: 500076-UP

1шт.

43

01010-81055

BOLT

SN: 500076-UP

2шт.

44

01643-31032

WASHER

SN: 500076-UP

2шт.

45

04120-21951

V-BELT

SN: 500076-UP

1шт.

Выбрано товаров: 108