Качественные детали и логистика
Оригинальные и аналоговые запчасти с доставкой по России, Казахстану и Беларуси
©2022 PartSell ООО "Система" ИНН 2463123282 ОГРН 1212400004838
Центральный офис: г. Красноярск, Академика Киренского, д.87, пом.4
Телефон: 8 (800) 777-65-74 Email: zakaz@partsell.ru
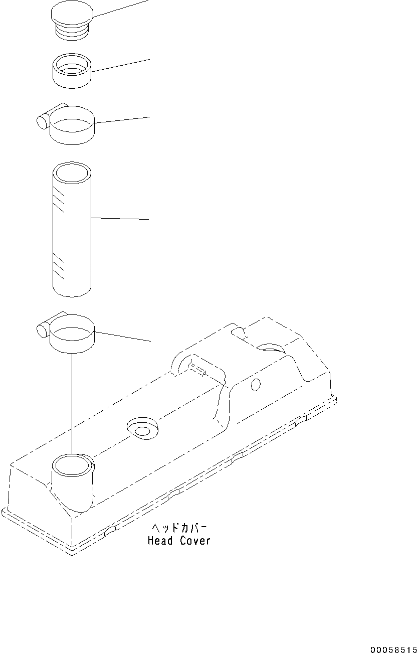
КРЫШКА ГОЛОВКИ АКСЕССУАРЫ(№79-)
№
Артикул
Название
Примечание
Количество
1
6204-11-8610
Cap, Oil Filler
SN: 501795-UP
1шт.
2
6208-11-8610
Hose
3
07281-00709
Clamp
2шт.
4
6202-13-8631
Pipe
Выбрано товаров: 0