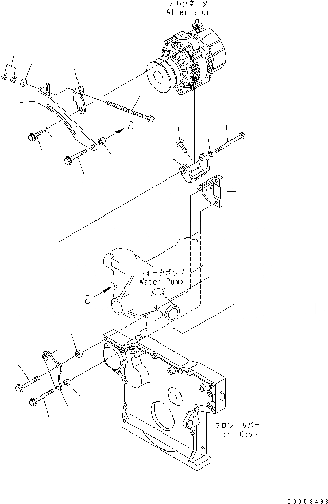
Запчасти Komatsu SAA4D95LE_5A КРЕПЛЕНИЕ ГЕНЕРАТОРА (A) AA ДВИГАТЕЛЬ

Схема запчастей Komatsu SAA4D95LE_5A - КРЕПЛЕНИЕ ГЕНЕРАТОРА (A) AA ДВИГАТЕЛЬ
1
2
3
4
5
6
7
8
9
10
11
12
13
14
15
16
16
17
17
FIT
1:1
100%

Артикул

Название

Примечание

Количество

1

6271-81-6360

PLATE,ADJUST

SN: 500001-UP

1шт.

2

01435-00865

BOLT

SN: 500001-UP

1шт.

3

6167-11-6640

SPACER

SN: 500001-UP

1шт.

4

01435-00835

BOLT

SN: 500007-UP

1шт.

4

01435-00830

BOLT

SN: 500001-500006

1шт.

5

154-61-16570

WASHER

SN: 500001-UP

1шт.

6

6208-81-6490

BRACKET,ADJUST

SN: 500001-UP

1шт.

7

6208-81-6590

BOLT

SN: 500001-UP

1шт.

8

6204-11-3830

WASHER

SN: 500001-UP

1шт.

9

01580-11008

NUT

SN: 500001-UP

2шт.

10

6271-81-6340

BRACKET

SN: 500001-UP

1шт.

11

6204-81-6321

BRACKET

SN: 500001-UP

1шт.

12

01435-00816

BOLT

SN: 500001-UP

2шт.

13

01018-31095

BOLT

SN: 500001-UP

1шт.

14

01640-21016

WASHER

SN: 500001-UP

1шт.

15

6271-81-6380

PLATE

SN: 500001-UP

1шт.

16

01435-00875

BOLT

SN: 500001-UP

2шт.

17

6204-81-6740

SPACER

SN: 500001-UP

2шт.

Выбрано товаров: 18