Запчасти Komatsu SAA4D95LE-5L-W САПУН(№-) ДВИГАТЕЛЬ

Схема запчастей Komatsu SAA4D95LE-5L-W - САПУН(№-) ДВИГАТЕЛЬ
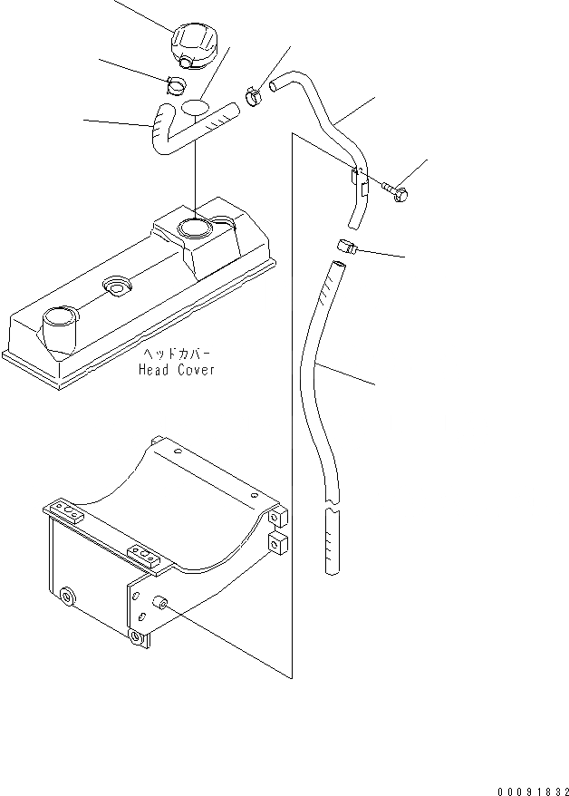
1
2
3
4
5
6
7
8
9
FIT
1:1
100%

Артикул

Название

Примечание

Количество

1

6150-21-6750

BREATHER

SN: 511213-UP

1шт.

2

6209-11-8210

O-RING

SN: 511213-UP

1шт.

3

6271-11-8970

HOSE

SN: 511213-UP

1шт.

4

07285-00220

CLIP

SN: 511213-UP

1шт.

5

07285-00200

CLIP

SN: 511213-UP

1шт.

6

6271-11-8930

TUBE,BREATHER

SN: 511213-UP

1шт.

7

01435-00814

BOLT

SN: 511213-UP

1шт.

8

07286-01656

HOSE

SN: 511213-UP

1шт.

9

07285-00180

CLIP

SN: 511213-UP

1шт.

Выбрано товаров: 9