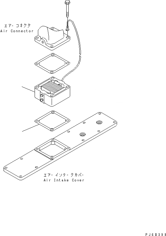
Запчасти Komatsu SAA6D102E-2E-8 ПОДОГРЕВАТЕЛЬ ВПУСКА ВОЗДУХА ДВИГАТЕЛЬ

Схема запчастей Komatsu SAA6D102E-2E-8 - ПОДОГРЕВАТЕЛЬ ВПУСКА ВОЗДУХА ДВИГАТЕЛЬ
1
2
FIT
1:1
100%

Артикул

Название

Примечание

Количество

1

6732-81-5120

HEATER ASS'Y

SN: 26274903-UP

1шт.

2

6732-11-4811

GASKET (K1)

SN: 26274903-UP

1шт.

Выбрано товаров: 2