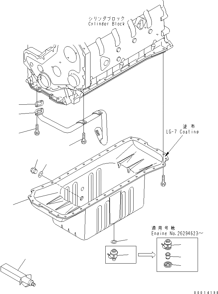
Запчасти Komatsu SAA6D102E-2E-8 МАСЛЯНЫЙ ПОДДОН И ВСАСЫВАЮЩИЙ ПАТРУБОК(№89-) ДВИГАТЕЛЬ

Схема запчастей Komatsu SAA6D102E-2E-8 - МАСЛЯНЫЙ ПОДДОН И ВСАСЫВАЮЩИЙ ПАТРУБОК(№89-) ДВИГАТЕЛЬ
1
2
3
4
5
6
7
8
9
10
11
12
13
FIT
1:1
100%

Артикул

Название

Примечание

Количество

1

6735-51-5521

TUBE,SUCTION

SN: 26282900-UP

1шт.

2

6732-21-5510

GASKET

SN: 26282900-UP

1шт.

3

6732-71-3220

BOLT

SN: 26282900-UP

2шт.

4

6732-21-5160

BOLT

SN: 26282900-UP

2шт.

5

6735-21-5120

PAN,OIL

SN: 26282900-UP

1шт.

6

6204-21-5180

PLUG

SN: 26282900-UP

1шт.

7

07005-02216

SEAL, WASHER (K2)

SN: 26282900-UP

1шт.

8

6732-21-5610

VALVE

SN: 26282900-26294622

1шт.

|$9

6738-21-5611

VALVE ASS'Y

SN: 26345460-UP

1шт.

|$10

0

COCK ASS'Y

SN: 26294623-26345459

1шт.

9

6738-21-5621

VALVE

SN: 26324882-UP

1шт.

9

0

COCK

SN: 26294623-26324881

1шт.

10

6738-21-5630

JOINT

SN: 26294623-UP

1шт.

11

6738-21-5640

NUT

SN: 26294623-UP

1шт.

12

07005-02216

SEAL, WASHER (K2)

SN: 26282900-UP

1шт.

13

09920-00150

LIQUID GASKET,LG-7, 150G

SN: 26282900-UP

-2шт.

Выбрано товаров: 16