Запчасти Komatsu SAA6D107E-1B МАСЛЯНЫЙ ПОДДОН ДВИГАТЕЛЬ

Схема запчастей Komatsu SAA6D107E-1B - МАСЛЯНЫЙ ПОДДОН ДВИГАТЕЛЬ
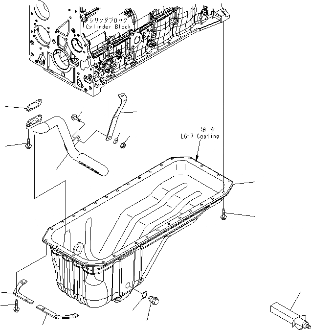
1
2
3
4
5
6
7
8
9
10
11
12
13
14
15
FIT
1:1
100%

Артикул

Название

Примечание

Количество

1

6754-21-5510

TUBE,SUCTION

SN: 26500006-UP

1шт.

2

6754-21-5530

GASKET

SN: 26500006-UP

1шт.

3

6732-21-5160

BOLT

SN: 26500006-UP

2шт.

4

6754-21-5520

BRACKET

SN: 26500006-UP

1шт.

5

6735-71-5190

BOLT

SN: 26500006-UP

1шт.

6

6742-01-2690

WASHER

SN: 26500006-UP

1шт.

7

01584-00605

NUT

SN: 26500006-UP

1шт.

8

6754-21-5120

PAN,OIL

SN: 26500006-UP

1шт.

9

6754-21-5130

PLATE

SN: 26500006-UP

1шт.

10

6754-21-5140

PLATE

SN: 26500006-UP

1шт.

11

6735-21-5540

BOLT

SN: 26500006-UP

26шт.

12

6732-21-6610

BOLT

SN: 26500006-UP

6шт.

13

6736-21-5320

PLUG

SN: 26500006-UP

1шт.

14

6732-21-5170

GASKET

SN: 26500006-UP

1шт.

15

09920-00150

LIQUID GASKET,LG-7¤ 150G

SN: 26500006-UP

-2шт.

Выбрано товаров: 15