Запчасти Komatsu SAA6D107E-2B ПОДДОН ДВИГ-ЛЯ ПОДДОН ДВИГ-ЛЯ

Схема запчастей Komatsu SAA6D107E-2B - ПОДДОН ДВИГ-ЛЯ ПОДДОН ДВИГ-ЛЯ
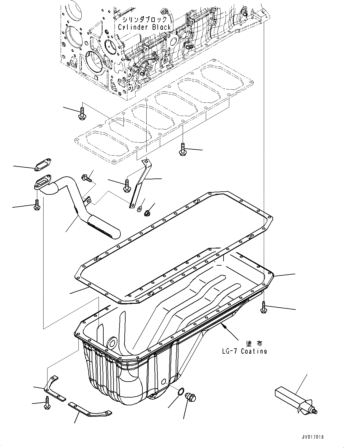
17
16
15
14
13
12
11
9
7
6
5
4
3
2
1
10
8
8
8
FIT
1:1
100%

Артикул

Название

Примечание

Количество

1

6754-21-5510

Tube, Suction

SN: 26600005-UP

1шт.

2

6754-21-5530

Gasket

SN: 26600005-UP

1шт.

3

6732-21-5160

Bolt

SN: 26600005-UP

2шт.

4

6754-21-5520

Bracket

SN: 26600005-UP

1шт.

5

6735-71-5190

Bolt

SN: 26600005-UP

1шт.

6

6742-01-2690

Washer

SN: 26600005-UP

1шт.

7

01584-00605

Nut

SN: 26600005-UP

1шт.

8

6735-71-3220

Bolt

SN: 26600005-UP

7шт.

9

6754-21-5120

Oil Pan

SN: 26600005-UP

1шт.

10

6754-21-5830

Gasket

SN: 26600005-UP

1шт.

11

6754-21-5130

Plate

SN: 26600005-UP

1шт.

12

6754-21-5140

Plate

SN: 26600005-UP

1шт.

13

6735-21-5540

Bolt

SN: 26600005-UP

26шт.

14

6732-21-6610

Bolt

SN: 26600005-UP

6шт.

15

6736-21-5320

Plug

SN: 26600005-UP

1шт.

16

6732-21-5170

Gasket

SN: 26600005-UP

1шт.

17

09920-00150

Liquid gasket, LG-7, 150G

SN: 26600005-UP

-2шт.

Выбрано товаров: 17