Запчасти Komatsu SAA6D108E-2A-8 БЛОК ЦИЛИНДРОВ КРЕПЛЕНИЕ (С BYPASS МАСЛ. ФИЛЬТР)(№9-) ДВИГАТЕЛЬ

Схема запчастей Komatsu SAA6D108E-2A-8 - БЛОК ЦИЛИНДРОВ КРЕПЛЕНИЕ (С BYPASS МАСЛ. ФИЛЬТР)(№9-) ДВИГАТЕЛЬ
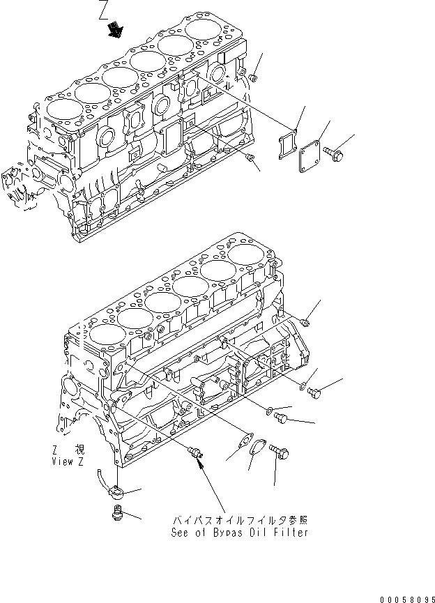
1
2
3
4
4
5
6
7
8
9
10
11
12
13
14
FIT
1:1
100%

Артикул

Название

Примечание

Количество

1

07042-70108

PLUG

SN: 29035-UP

2шт.

2

07040-11007

PLUG

SN: 29035-UP

1шт.

3

07005-01012

GASKET (K2)

SN: 29035-UP

1шт.

4

07043-70211

PLUG

SN: 29035-UP

2шт.

5

07040-11209

PLUG

SN: 29035-UP

1шт.

6

07005-01212

GASKET (K2)

SN: 29035-UP

1шт.

7

6138-61-6480

PLATE

SN: 29035-UP

1шт.

8

6138-61-6560

GASKET

SN: 29035-UP

1шт.

9

01435-00820

BOLT

SN: 29035-UP

2шт.

10

6221-23-7620

PLATE

SN: 29035-UP

2шт.

11

6221-23-7680

GASKET

SN: 29035-UP

2шт.

12

01435-01020

BOLT

SN: 29035-UP

6шт.

13

6222-23-1810

NOZZLE,PISTON COOLING

SN: 29035-UP

6шт.

14

6222-23-1820

VALVE,CHECK

SN: 29035-UP

6шт.

Выбрано товаров: 14