Запчасти Komatsu SAA6D114E-3 ТОПЛИВН. ПЕРЕДАЧА НАСОС ДВИГАТЕЛЬ

Схема запчастей Komatsu SAA6D114E-3 - ТОПЛИВН. ПЕРЕДАЧА НАСОС ДВИГАТЕЛЬ
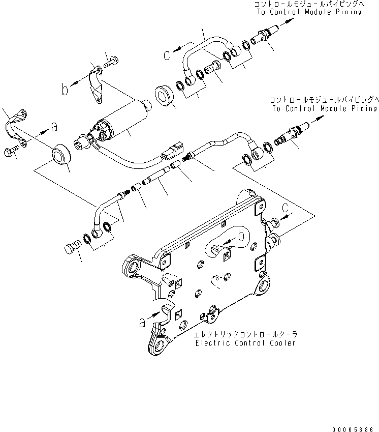
1
2
2
3
4
5
5
6
7
7
7
8
9
10
11
11
12
13
13
14
14
FIT
1:1
100%

Артикул

Название

Примечание

Количество

|$0

6745-71-5310

TUBE,FUEL SUPPLY

SN: .-UP

1шт.

1

6745-71-5320

HOSE

SN: .-UP

1шт.

2

6745-71-5330

SOCKET

SN: .-UP

2шт.

3

6745-71-5340

TUBE

SN: .-UP

1шт.

4

6745-71-5370

TUBE

SN: .-UP

1шт.

5

6732-71-6510

BOLT

SN: .-UP

2шт.

6

6731-74-5910

WASHER

SN: .-UP

2шт.

7

6745-71-1130

WASHER

SN: .-UP

6шт.

8

6745-71-5390

VALVE,CHECK

SN: .-UP

1шт.

9

6745-71-5410

TUBE

SN: .-UP

1шт.

10

6745-71-5430

CONNECTOR,ADAPTER

SN: .-UP

1шт.

|$11

6745-71-1820

PUMP ASS'Y,FUEL TRANSFER

SN: .-UP

1шт.

11

6745-71-1830

ISOLATOR,VIBRATION

SN: .-UP

2шт.

12

0

PUMP,FUEL TRANSFER

SN: .-UP

1шт.

13

6732-21-4180

BOLT

SN: .-UP

4шт.

14

6745-71-1860

BRACKET,TRANSFER PUMP

SN: .-UP

2шт.

Выбрано товаров: 16