Запчасти Komatsu SAA6D114E-3C МАСЛЯНЫЙ ПОДДОН ДВИГАТЕЛЬ

Схема запчастей Komatsu SAA6D114E-3C - МАСЛЯНЫЙ ПОДДОН ДВИГАТЕЛЬ
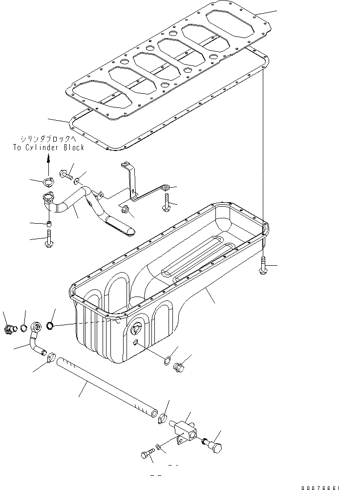
1
2
3
4
5
6
7
8
9
10
11
12
13
14
15
16
17
18
19
19
20
21
22
23
24
25
FIT
1:1
100%

Артикул

Название

Примечание

Количество

1

6742-01-2620

TUBE,OIL SUCTION

SN: .-UP

1шт.

2

6742-01-1001

GASKET,OIL SUCTION CONNECTION

SN: .-UP

1шт.

3

6742-01-2630

BOLT

SN: .-UP

2шт.

4

6742-01-0310

SPACER,MOUNTING

SN: .-UP

2шт.

5

6743-51-5530

BRACE,TUBE

SN: .-UP

1шт.

6

6735-71-5190

BOLT

SN: .-UP

1шт.

7

01584-00605

NUT

SN: .-UP

1шт.

8

6735-71-5190

BOLT

SN: .-UP

2шт.

9

6742-01-2690

WASHER,PLAIN

SN: .-UP

1шт.

10

6741-21-5120

PAN,OIL

SN: .-UP

1шт.

11

6742-01-5308

GASKET,OIL PAN

SN: .-UP

1шт.

12

6736-21-5320

PLUG,THREADED

SN: .-UP

2шт.

13

6732-21-5170

GASKET,SEALING

SN: .-UP

2шт.

14

07005-02216

GASKET

SN: .-UP

1шт.

15

07005-02416

GASKET

SN: .-UP

1шт.

16

423-01-31310

BOLT

SN: .-UP

1шт.

17

424-01-41150

TUBE

SN: .-UP

1шт.

18

424-01-41161

HOSE

SN: .-UP

1шт.

19

07281-00359

CLAMP

SN: .-UP

2шт.

20

423-01-31620

TUBE

SN: .-UP

1шт.

21

423-01-31610

PLUG

SN: .-UP

1шт.

22

01010-80612

BOLT

SN: .-UP

1шт.

23

01643-30623

WASHER

SN: .-UP

1шт.

24

1304891H1

PLATE,CYLINDER BLOCK STIFFENER

SN: .-UP

1шт.

25

6732-21-5160

BOLT

SN: .-UP

32шт.

Выбрано товаров: 25