Запчасти Komatsu SAA6D125E-5 МАСЛЯНЫЙ ПОДДОН И ВСАСЫВАЮЩИЙ ПАТРУБОК ДВИГАТЕЛЬ

Схема запчастей Komatsu SAA6D125E-5 - МАСЛЯНЫЙ ПОДДОН И ВСАСЫВАЮЩИЙ ПАТРУБОК ДВИГАТЕЛЬ
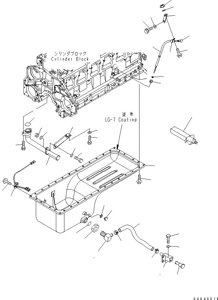
1
2
3
4
5
6
7
8
8
9
10
11
12
13
14
15
16
17
18
19
20
21
22
23
24
25
26
27
28
29
30
31
32
33
34
35
35
36
1
2
3
4
5
6
7
8
8
9
10
11
12
13
14
15
16
17
18
19
20
21
22
23
24
25
26
27
28
29
30
31
32
33
34
35
35
36
FIT
1:1
100%

Артикул

Название

Примечание

Количество

1

6150-21-5550

PAN,OIL

SN: 560001-UP

1шт.

2

01435-01025

BOLT

SN: 560001-UP

36шт.

|$5

6251-51-6620

HOSE ASS'Y,OIL DRAIN

SN: 560001-UP

1шт.

3

421-01-11180

ELBOW

SN: 560001-UP

1шт.

4

01583-13621

NUT

SN: 560001-UP

1шт.

5

421-01-41160

TUBE

SN: 560001-UP

1шт.

6

423-01-31610

PLUG

SN: 560001-UP

1шт.

7

07260-22045

HOSE

SN: 560001-UP

1шт.

8

07281-00359

CLAMP

SN: 560001-UP

2шт.

9

01010-80612

BOLT

SN: 560001-UP

1шт.

10

01643-30623

WASHER

SN: 560001-UP

1шт.

11

07002-23634

O-RING

SN: 560001-UP

1шт.

12

6207-21-5340

GAUGE,OIL LEVEL

SN: 560001-UP

1шт.

13

6251-21-5410

GUIDE,OIL GAUGE

SN: 560001-UP

1шт.

14

6150-21-5920

COLLAR

SN: 560001-UP

1шт.

15

6150-21-5930

NUT

SN: 560001-UP

1шт.

16

6251-21-5510

BRACKET

SN: 560001-UP

1шт.

17

01643-31032

WASHER

SN: 560001-UP

1шт.

18

01435-01025

BOLT

SN: 560001-UP

1шт.

19

04434-51310

CLIP

SN: 560001-UP

1шт.

20

01435-01025

BOLT

SN: 560001-UP

1шт.

21

01643-31032

WASHER

SN: 560001-UP

1шт.

22

01584-01008

NUT

SN: 560001-UP

1шт.

23

6741-81-9220

SENSOR,OIL LEVEL

SN: 560001-UP

1шт.

|$31

7861-91-4220

O-RING

SN: 560001-UP

1шт.

24

01435-00612

BOLT

SN: 560001-UP

3шт.

25

6672-12-6290

PLUG

SN: 560001-UP

1шт.

26

07005-01612

GASKET

SN: 560001-UP

1шт.

27

6150-51-6330

STRAINER

SN: 560001-UP

1шт.

28

07000-73045

O-RING

SN: 560001-UP

1шт.

29

01010-81035

BOLT

SN: 560001-UP

2шт.

30

6150-51-6340

BRACKET

SN: 560001-UP

1шт.

31

01010-81020

BOLT

SN: 560001-UP

1шт.

32

01643-31032

WASHER

SN: 560001-UP

1шт.

33

01010-81030

BOLT

SN: 560001-UP

1шт.

34

01580-01008

NUT

SN: 560001-UP

1шт.

35

01643-31032

WASHER

SN: 560001-UP

2шт.

36

09920-00150

LIQUID GASKET,LG-7, 150G

SN: 560001-UP

-2шт.

1

6150-21-5550

PAN,OIL

SN: 560001-UP

1шт.

2

01435-01025

BOLT

SN: 560001-UP

36шт.

|$5

6251-51-6620

HOSE ASS'Y,OIL DRAIN

SN: 560001-UP

1шт.

3

421-01-11180

ELBOW

SN: 560001-UP

1шт.

4

01583-13621

NUT

SN: 560001-UP

1шт.

5

421-01-41160

TUBE

SN: 560001-UP

1шт.

6

423-01-31610

PLUG

SN: 560001-UP

1шт.

7

07260-22045

HOSE

SN: 560001-UP

1шт.

8

07281-00359

CLAMP

SN: 560001-UP

2шт.

9

01010-80612

BOLT

SN: 560001-UP

1шт.

10

01643-30623

WASHER

SN: 560001-UP

1шт.

11

07002-23634

O-RING

SN: 560001-UP

1шт.

12

6207-21-5340

GAUGE,OIL LEVEL

SN: 560001-UP

1шт.

13

6251-21-5410

GUIDE,OIL GAUGE

SN: 560001-UP

1шт.

14

6150-21-5920

COLLAR

SN: 560001-UP

1шт.

15

6150-21-5930

NUT

SN: 560001-UP

1шт.

16

6251-21-5510

BRACKET

SN: 560001-UP

1шт.

17

01643-31032

WASHER

SN: 560001-UP

1шт.

18

01435-01025

BOLT

SN: 560001-UP

1шт.

19

04434-51310

CLIP

SN: 560001-UP

1шт.

20

01435-01025

BOLT

SN: 560001-UP

1шт.

21

01643-31032

WASHER

SN: 560001-UP

1шт.

22

01584-01008

NUT

SN: 560001-UP

1шт.

23

6741-81-9220

SENSOR,OIL LEVEL

SN: 560001-UP

1шт.

|$31

7861-91-4220

O-RING

SN: 560001-UP

1шт.

24

01435-00612

BOLT

SN: 560001-UP

3шт.

25

6672-12-6290

PLUG

SN: 560001-UP

1шт.

26

07005-01612

GASKET

SN: 560001-UP

1шт.

27

6150-51-6330

STRAINER

SN: 560001-UP

1шт.

28

07000-73045

O-RING

SN: 560001-UP

1шт.

29

01010-81035

BOLT

SN: 560001-UP

2шт.

30

6150-51-6340

BRACKET

SN: 560001-UP

1шт.

31

01010-81020

BOLT

SN: 560001-UP

1шт.

32

01643-31032

WASHER

SN: 560001-UP

1шт.

33

01010-81030

BOLT

SN: 560001-UP

1шт.

34

01580-01008

NUT

SN: 560001-UP

1шт.

35

01643-31032

WASHER

SN: 560001-UP

2шт.

36

09920-00150

LIQUID GASKET,LG-7, 150G

SN: 560001-UP

-2шт.

Выбрано товаров: 76