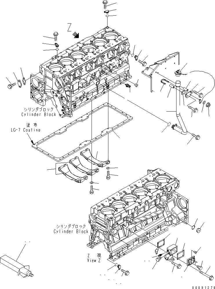
Запчасти Komatsu SAA6D140E-5B-01 ЭЛЕМЕНТЫ БЛОКА ЦИЛИНДРОВ (НИЖН. РАМА И МАСЛОНАЛИВНОЙ ПАТРУБОК) (РАДИО УПРАВЛ-Е СПЕЦ-Я.)(№9-) ДВИГАТЕЛЬ

Схема запчастей Komatsu SAA6D140E-5B-01 - ЭЛЕМЕНТЫ БЛОКА ЦИЛИНДРОВ (НИЖН. РАМА И МАСЛОНАЛИВНОЙ ПАТРУБОК) (РАДИО УПРАВЛ-Е СПЕЦ-Я.)(№9-) ДВИГАТЕЛЬ
1
2
3
4
5
6
7
8
8
9
10
11
12
13
13
14
15
16
17
18
19
20
21
22
23
24
24
25
25
26
27
28
29
30
31
32
33
34
34
34
35
36
36
37
37
38
38
38
38
39
FIT
1:1
100%

Артикул

Название

Примечание

Количество

1

6261-21-1890

CONNECTOR

SN: 535902-UP

1шт.

2

6261-21-1970

GASKET

SN: 535902-UP

1шт.

3

6210-21-1991

COVER

SN: 535902-UP

1шт.

4

6210-21-1971

GASKET

SN: 535902-UP

1шт.

5

01435-01080

BOLT

SN: 535902-UP

4шт.

6

01435-01035

BOLT

SN: 535902-UP

1шт.

7

07043-A0415

PLUG

SN: 535902-UP

1шт.

8

287-35-11470

PLUG

SN: 535902-UP

4шт.

9

07043-70108

PLUG

SN: 535902-UP

2шт.

10

6219-81-1961

SENSOR ASS'Y,OIL PRESSURE

SN: 535902-UP

1шт.

11

6150-21-1180

PLUG

SN: 535902-UP

1шт.

12

6150-21-1190

O-RING

SN: 535902-UP

1шт.

13

6217-21-1220

BRACKET,UNDER FLAME

SN: 535902-UP

3шт.

14

01010-81050

BOLT

SN: 535902-UP

4шт.

15

01643-31032

WASHER

SN: 535902-UP

4шт.

16

01010-81060

BOLT

SN: 535902-UP

8шт.

17

01643-31032

WASHER

SN: 535902-UP

8шт.

18

6261-21-5830

PLATE

SN: 535902-UP

1шт.

19

6261-21-7140

FILLER,OIL

SN: 535902-UP

1шт.

20

01435-01020

BOLT

SN: 535902-UP

1шт.

21

07000-73034

O-RING

SN: 535902-UP

1шт.

22

07025-00100

CAP,OIL FILLER

SN: 535902-UP

1шт.

23

6261-21-7290

PLATE

SN: 535902-UP

1шт.

24

6150-81-6940

SPACER

SN: 535902-UP

2шт.

25

01435-01080

BOLT

SN: 535902-UP

2шт.

26

07283-34354

CLIP

SN: 535902-UP

1шт.

27

07283-54353

SEAT

SN: 535902-UP

1шт.

28

01643-31032

WASHER

SN: 535902-UP

2шт.

29

01597-01009

NUT

SN: 535902-UP

2шт.

30

6261-81-6901

SENSOR ASS'Y,WATER TEMPERATURE

SN: 535902-UP

1шт.

30

6261-84-9740

O-RING

SN: 535902-UP

1шт.

31

6210-21-1950

FLANGE

SN: 535902-UP

1шт.

32

6696-61-9921

GASKET

SN: 535902-UP

1шт.

33

01435-01225

BOLT

SN: 535902-UP

2шт.

34

6217-21-1940

COVER

SN: 535902-UP

3шт.

35

6218-21-1940

COVER

SN: 535902-UP

1шт.

36

07000-73025

O-RING

SN: 535902-UP

2шт.

37

6215-61-6630

O-RING

SN: 535902-UP

2шт.

38

01435-01020

BOLT

SN: 535902-UP

4шт.

39

09920-00150

LIQUID GASKET,LG-7, 150G

SN: 535902-UP

-2шт.

Выбрано товаров: 0