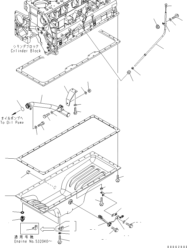
Запчасти Komatsu SAA6D140E-5B МАСЛЯНЫЙ ПОДДОН И ВСАСЫВАЮЩИЙ ПАТРУБОК AA ДВИГАТЕЛЬ

Схема запчастей Komatsu SAA6D140E-5B - МАСЛЯНЫЙ ПОДДОН И ВСАСЫВАЮЩИЙ ПАТРУБОК AA ДВИГАТЕЛЬ
1
2
3
4
4
5
6
7
8
9
10
11
12
13
14
15
16
17
17
17
18
19
20
21
22
23
24
25
26
27
28
29
30
31
32
33
34
35
FIT
1:1
100%

Артикул

Название

Примечание

Количество

1

6261-21-5250

PAN, OIL

SN: 530001-UP

1шт.

2

6210-21-5820

GASKET

SN: 530001-UP

1шт.

3

01435-01035

BOLT

SN: 530001-UP

36шт.

4

6934-71-5860

BRACKET

SN: 532040-UP

1шт.

|4

6222-83-6620

BRACKET

SN: 530001-532039

1шт.

5

6110-23-6490

SPACER

SN: 530001-UP

1шт.

6

01435-01045

BOLT

SN: 532040-UP

1шт.

|6

01435-01050

BOLT

SN: 530001-532039

1шт.

7

6217-21-5610

VALVE

SN: 530001-UP

1шт.

8

6217-21-5660

GASKET

SN: 530001-UP

1шт.

9

6261-51-6310

STRAINER

SN: 530001-UP

1шт.

10

07000-73040

O-RING

SN: 530001-UP

1шт.

11

01010-81025

BOLT

SN: 530001-UP

1шт.

12

01643-31032

WASHER

SN: 530001-UP

1шт.

13

6261-51-6320

BRACKET

SN: 530001-UP

1шт.

14

01010-81025

BOLT

SN: 530001-UP

2шт.

15

01010-81030

BOLT

SN: 530001-UP

1шт.

16

01580-01008

NUT

SN: 530001-UP

1шт.

17

01643-31032

WASHER

SN: 530001-UP

4шт.

18

6261-21-5320

GAUGE, OIL LEVEL

SN: 530001-UP

1шт.

19

6218-21-5420

GUIDE, OIL GAUGE

SN: 530001-UP

1шт.

20

6150-21-5920

COLLAR

SN: 530001-UP

1шт.

21

6150-21-5930

NUT

SN: 530001-UP

1шт.

22

04434-51310

CLIP

SN: 530001-UP

1шт.

23

01435-01025

BOLT

SN: 530001-UP

1шт.

24

01584-01008

NUT

SN: 530001-UP

1шт.

25

01643-31032

WASHER

SN: 530001-UP

1шт.

26

6741-81-9220

SENSOR, LEVEL

SN: 530001-UP

1шт.

|26

7861-91-4220

O-RING, LEVEL

SN: 530001-UP

1шт.

27

01435-00612

BOLT

SN: 530001-UP

3шт.

28

08193-20010

CLIP

SN: 530001-UP

1шт.

29

01435-01020

BOLT

SN: 530001-UP

1шт.

30

6110-23-6490

SPACER

SN: 530001-UP

1шт.

31

6222-83-6620

BRACKET

SN: 530001-UP

1шт.

32

01435-01050

BOLT

SN: 530001-UP

1шт.

33

600-051-2050

CLIP

SN: 530001-UP

1шт.

34

01643-31032

WASHER

SN: 530001-UP

1шт.

35

02720-41616

PLUG

SN: 530001-UP

1шт.

Выбрано товаров: 38