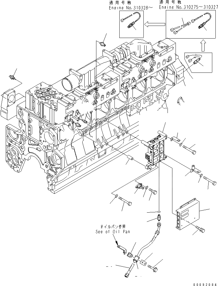
Запчасти Komatsu SAA6D170E-3B-8 УПРАВЛ-Е ПОДАЧ. ТОПЛИВА КЛАПАН(№-9) ДВИГАТЕЛЬ

Схема запчастей Komatsu SAA6D170E-3B-8 - УПРАВЛ-Е ПОДАЧ. ТОПЛИВА КЛАПАН(№-9) ДВИГАТЕЛЬ
1
2
3
4
4
4
5
6
7
8
9
10
11
12
13
13
14
15
16
16
17
18
19
20
21
22
23
23
24
25
FIT
1:1
100%

Артикул

Название

Примечание

Количество

1

6560-41-3100

CONTROL VALVE ASS'Y,(SEE FIG.A4710-B6C5A)

SN: 310005-310509

1шт.

2

6560-61-1203

CONTROLLER ASS'Y

SN: 310164-310509

1шт.

3

6216-84-9320

SCREW

SN: 310005-310509

6шт.

4

6560-61-2110

SENSOR,REVOLUTION

SN: 310275-310509

1шт.

4

0

SENSOR,REVOLUTION

SN: 310005-310274

1шт.

|$$6

(6560-61-2110,6560-61-9190)

-1шт.

5

6560-61-9190

HARNESS

SN: 310275-310327

1шт.

6

6216-84-9140

SENSOR ASS'Y,TEMPERATURE

SN: 310005-310509

1шт.

7

6216-84-9330

SENSOR,AMBIENT AIR PRESSURE

SN: 310005-310509

1шт.

8

02010-70425

BOLT

SN: 310005-310509

2шт.

9

01640-20610

WASHER

SN: 310005-310509

2шт.

10

6742-01-5144

SENSOR,INTAKE AIR TEMPERATURE

SN: 310005-310509

1шт.

11

6560-61-7101

SENSOR,BOOST PRESSURE

SN: 310021-310509

1шт.

12

6216-84-9110

SENSOR ASS'Y,OIL PRESSURE

SN: 310005-310509

1шт.

13

01011-81010

BOLT

SN: 310021-310509

2шт.

14

01643-31032

WASHER

SN: 310005-310509

2шт.

15

01010-81085

BOLT

SN: 310005-310509

2шт.

16

01643-31032

WASHER

SN: 310005-310509

2шт.

17

6152-21-6590

SPACER

SN: 310005-310509

2шт.

18

6240-71-8930

BRACKET

SN: 310021-310509

1шт.

19

6240-71-8940

BRACKET

SN: 310021-310509

1шт.

20

6240-71-5980

HOSE

SN: 310164-310509

1шт.

21

6240-71-5990

NIPPLE

SN: 310164-310509

1шт.

22

07002-21423

O-RING

SN: 310164-310509

1шт.

23

07094-10315

CLAMP

SN: 310164-310509

2шт.

24

07095-00316

CUSHION

SN: 310164-310509

1шт.

25

01435-01055

BOLT

SN: 310164-310509

1шт.

Выбрано товаров: 27