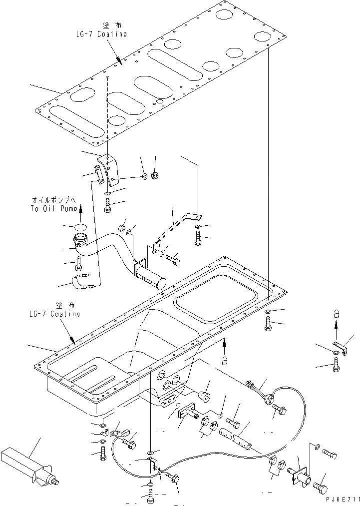
Запчасти Komatsu SAA6D170E-3C-8 МАСЛЯНЫЙ ПОДДОН И ВСАСЫВАЮЩИЙ ПАТРУБОК(№-7) ДВИГАТЕЛЬ

Схема запчастей Komatsu SAA6D170E-3C-8 - МАСЛЯНЫЙ ПОДДОН И ВСАСЫВАЮЩИЙ ПАТРУБОК(№-7) ДВИГАТЕЛЬ
1
2
3
4
5
6
7
8
9
10
11
12
12
13
14
15
16
17
18
19
19
20
21
21
22
23
23
24
24
24
24
25
26
27
28
29
30
31
32
32
33
34
35
36
37
38
39
40
41
1
2
3
4
5
6
7
8
9
10
11
12
12
13
14
15
16
17
18
19
19
20
21
21
22
23
23
24
24
24
24
25
26
27
28
29
30
31
32
32
33
34
35
36
37
38
39
40
41
FIT
1:1
100%

Артикул

Название

Примечание

Количество

1

6240-21-5130

PAN,OIL

SN: 310024-310470

1шт.

2

6240-21-5290

PLATE

SN: 310024-310470

1шт.

3

01010-81035

BOLT

SN: 310164-310470

48шт.

|3

01010-81035

BOLT

SN: 310024-310163

49шт.

4

01640-21016

WASHER

SN: 310024-310470

49шт.

5

426-35-11590

BRACKET

SN: 310164-310470

1шт.

6

01010-81045

BOLT

SN: 310164-310470

1шт.

7

01643-31032

WASHER

SN: 310164-310470

1шт.

8

02720-41616

PLUG

SN: 310024-310470

2шт.

|9

426-01-11010

VALVE ASS'Y

SN: 310024-310470

1шт.

9

426-01-11211

TUBE

SN: 310024-310470

1шт.

10

426-01-11221

HOSE

SN: 310024-310470

1шт.

11

426-01-11231

TUBE

SN: 310024-310470

1шт.

12

07281-00359

CLAMP

SN: 310024-310470

4шт.

13

424-01-11110

PLUG

SN: 310024-310470

1шт.

14

01010-81030

BOLT

SN: 310024-310470

2шт.

15

01643-31032

WASHER

SN: 310024-310470

2шт.

16

07000-73025

O-RING (K2)

SN: 310024-310470

1шт.

17

7861-92-4210

SENSOR

SN: 310024-310470

1шт.

18

01435-00612

BOLT

SN: 310024-310470

3шт.

19

427-43-11370

BRACKET

SN: 310024-310470

2шт.

20

08053-01512

CLIP

SN: 310024-310470

1шт.

21

01435-01020

BOLT

SN: 310024-310470

2шт.

22

04434-50510

CLIP

SN: 310024-310470

1шт.

23

01010-81040

BOLT

SN: 310024-310470

2шт.

24

01643-31032

WASHER

SN: 310024-310470

4шт.

25

6240-51-6311

TUBE

SN: 310024-310470

1шт.

26

07000-E2060

O-RING (K2)

SN: 310024-310470

1шт.

27

01010-81030

BOLT

SN: 310024-310470

1шт.

28

6240-51-6340

BRACKET

SN: 310024-310470

1шт.

29

01010-81030

BOLT

SN: 310024-310470

1шт.

30

6110-23-6490

SPACER

SN: 310024-310470

1шт.

31

01010-81025

BOLT

SN: 310024-310470

1шт.

32

01643-31032

WASHER

SN: 310024-310470

2шт.

33

01580-01008

NUT

SN: 310024-310470

1шт.

34

6240-51-6370

BRACKET

SN: 310024-310470

1шт.

35

01010-81035

BOLT

SN: 310024-310470

1шт.

36

01643-31032

WASHER

SN: 310024-310470

1шт.

37

07283-36163

CLIP

SN: 310024-310470

1шт.

38

6240-51-6390

PLATE

SN: 310024-310470

1шт.

39

01597-01009

NUT

SN: 310024-310470

2шт.

40

01643-31032

WASHER

SN: 310024-310470

2шт.

41

09920-00150

LIQUID GASKET,LG-7¤ 150G

SN: 310024-310470

-2шт.

1

6240-21-5130

PAN,OIL

SN: 310024-310470

1шт.

2

6240-21-5290

PLATE

SN: 310024-310470

1шт.

3

01010-81035

BOLT

SN: 310164-310470

48шт.

|3

01010-81035

BOLT

SN: 310024-310163

49шт.

4

01640-21016

WASHER

SN: 310024-310470

49шт.

5

426-35-11590

BRACKET

SN: 310164-310470

1шт.

6

01010-81045

BOLT

SN: 310164-310470

1шт.

7

01643-31032

WASHER

SN: 310164-310470

1шт.

8

02720-41616

PLUG

SN: 310024-310470

2шт.

|9

426-01-11010

VALVE ASS'Y

SN: 310024-310470

1шт.

9

426-01-11211

TUBE

SN: 310024-310470

1шт.

10

426-01-11221

HOSE

SN: 310024-310470

1шт.

11

426-01-11231

TUBE

SN: 310024-310470

1шт.

12

07281-00359

CLAMP

SN: 310024-310470

4шт.

13

424-01-11110

PLUG

SN: 310024-310470

1шт.

14

01010-81030

BOLT

SN: 310024-310470

2шт.

15

01643-31032

WASHER

SN: 310024-310470

2шт.

16

07000-73025

O-RING (K2)

SN: 310024-310470

1шт.

17

7861-92-4210

SENSOR

SN: 310024-310470

1шт.

18

01435-00612

BOLT

SN: 310024-310470

3шт.

19

427-43-11370

BRACKET

SN: 310024-310470

2шт.

20

08053-01512

CLIP

SN: 310024-310470

1шт.

21

01435-01020

BOLT

SN: 310024-310470

2шт.

22

04434-50510

CLIP

SN: 310024-310470

1шт.

23

01010-81040

BOLT

SN: 310024-310470

2шт.

24

01643-31032

WASHER

SN: 310024-310470

4шт.

25

6240-51-6311

TUBE

SN: 310024-310470

1шт.

26

07000-E2060

O-RING (K2)

SN: 310024-310470

1шт.

27

01010-81030

BOLT

SN: 310024-310470

1шт.

28

6240-51-6340

BRACKET

SN: 310024-310470

1шт.

29

01010-81030

BOLT

SN: 310024-310470

1шт.

30

6110-23-6490

SPACER

SN: 310024-310470

1шт.

31

01010-81025

BOLT

SN: 310024-310470

1шт.

32

01643-31032

WASHER

SN: 310024-310470

2шт.

33

01580-01008

NUT

SN: 310024-310470

1шт.

34

6240-51-6370

BRACKET

SN: 310024-310470

1шт.

35

01010-81035

BOLT

SN: 310024-310470

1шт.

36

01643-31032

WASHER

SN: 310024-310470

1шт.

37

07283-36163

CLIP

SN: 310024-310470

1шт.

38

6240-51-6390

PLATE

SN: 310024-310470

1шт.

39

01597-01009

NUT

SN: 310024-310470

2шт.

40

01643-31032

WASHER

SN: 310024-310470

2шт.

41

09920-00150

LIQUID GASKET,LG-7¤ 150G

SN: 310024-310470

-2шт.

Выбрано товаров: 86