Качественные детали и логистика
Оригинальные и аналоговые запчасти с доставкой по России, Казахстану и Беларуси
©2022 PartSell ООО "Система" ИНН 2463123282 ОГРН 1212400004838
Центральный офис: г. Красноярск, Академика Киренского, д.87, пом.4
Телефон: 8 (800) 777-65-74 Email: zakaz@partsell.ru
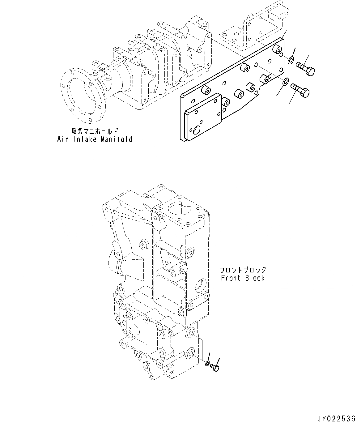
ВОДН. ГИДРОЛИНИЯ ЗАГЛУШКА (№8-)
№
Артикул
Название
Примечание
Количество
1
6245-61-8220
Bracket
SN: 511668-UP
1шт.
2
01010-81030
Bolt
10шт.
3
01643-31032
Washer
4
07040-11409
Plug
2шт.
5
07005-01412
Seal, Washer
Выбрано товаров: 0