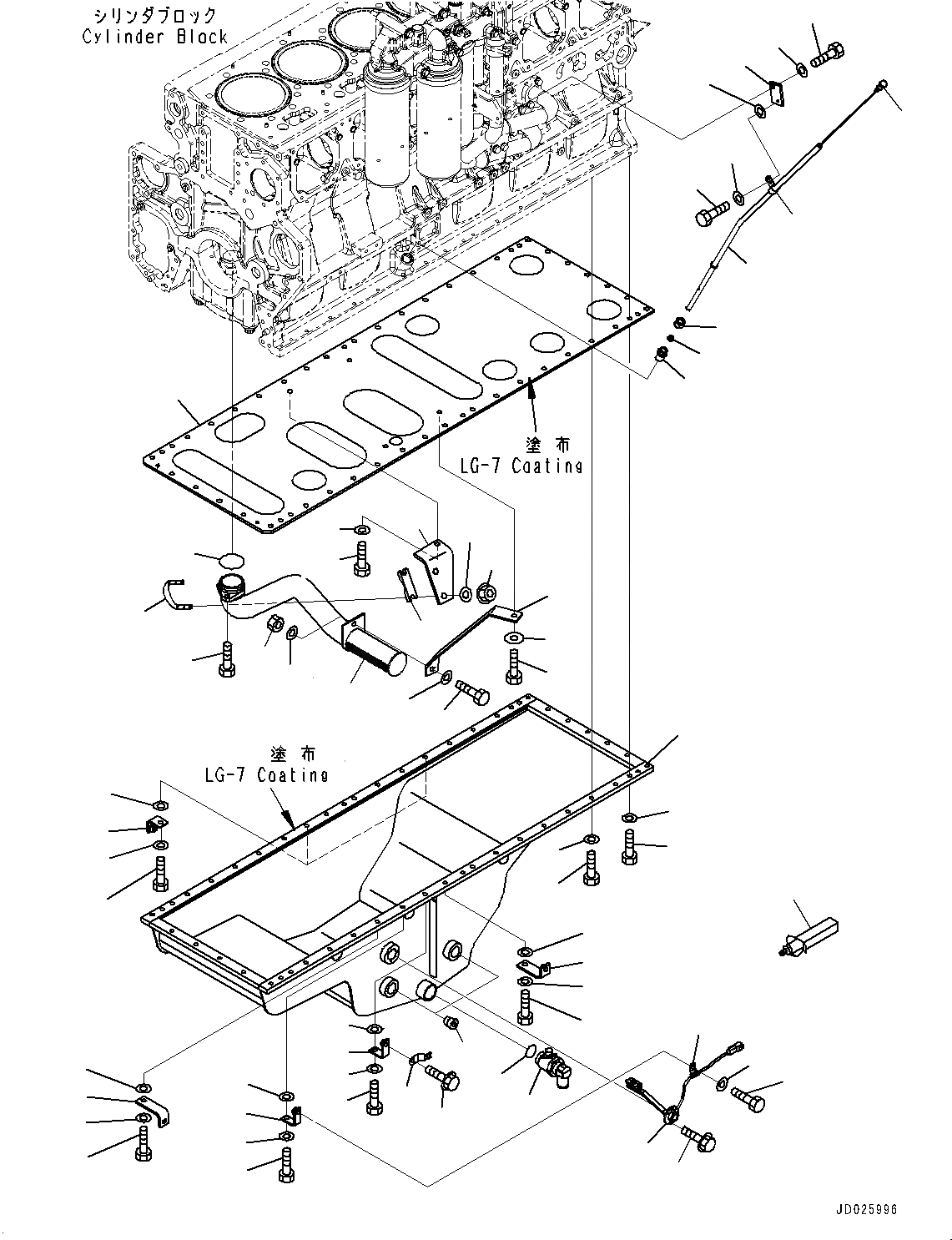
Запчасти Komatsu SAA6D170E-5C МАСЛЯНЫЙ ПОДДОН И ВСАСЫВАЮЩИЙ ПАТРУБОК (№7-) МАСЛЯНЫЙ ПОДДОН И ВСАСЫВАЮЩИЙ ПАТРУБОК

Схема запчастей Komatsu SAA6D170E-5C - МАСЛЯНЫЙ ПОДДОН И ВСАСЫВАЮЩИЙ ПАТРУБОК (№7-) МАСЛЯНЫЙ ПОДДОН И ВСАСЫВАЮЩИЙ ПАТРУБОК
1
6
8
7
10
11
13
14
26
27
28
29
33
31
37
34
35
36
30
38
40
54
58
59
39
32
12
9
6
8
7
9
2
15
16
17
18
20
21
23
24
25
22
45
44
46
47
48
51
52
53
55
56
57
3
4
5
60
5
19
22
41
49
50
43
42
FIT
1:1
100%

Артикул

Название

Примечание

Количество

1

6245-21-5120

Pan, Oil

SN: 511700-UP

1шт.

2

6240-21-5290

Plate, Under

SN: 511700-UP

1шт.

3

01010-81035

Bolt

SN: 511700-UP

19шт.

4

01010-81045

Bolt

SN: 511700-UP

21шт.

5

01640-21016

Washer

SN: 511700-UP

40шт.

6

6202-11-5920

Bracket

SN: 511700-UP

2шт.

7

01010-81055

Bolt

SN: 511700-UP

2шт.

8

01643-31032

Washer

SN: 511700-UP

2шт.

9

01643-31032

Washer

SN: 511700-UP

2шт.

10

154-49-51640

Bracket

SN: 511700-UP

2шт.

11

01010-81055

Bolt

SN: 511700-UP

2шт.

12

01643-31032

Washer

SN: 511700-UP

2шт.

13

01643-31032

Washer

SN: 511700-UP

2шт.

14

02720-41616

Plug

SN: 511700-UP

2шт.

15

6150-21-5920

Collar

SN: 511700-UP

1шт.

16

6150-21-5930

Nut

SN: 511700-UP

1шт.

17

6150-21-5910

Bushing

SN: 511700-UP

1шт.

18

6245-25-5410

Guide, Oil Gauge

SN: 511700-UP

1шт.

19

6245-21-5330

Gauge, Oil Level

SN: 511700-UP

1шт.

20

6162-23-5820

Clamp

SN: 511700-UP

1шт.

21

01010-80820

Bolt

SN: 511700-UP

1шт.

22

01640-20816

Washer

SN: 511700-UP

2шт.

23

6218-71-8161

Plate

SN: 511700-UP

1шт.

24

01010-81025

Bolt

SN: 511700-UP

1шт.

25

01643-31032

Washer

SN: 511700-UP

1шт.

26

6741-81-9220

Sensor, Oil Level

SN: 511700-UP

1шт.

26

7861-91-4220

O-ring

SN: 511700-UP

1шт.

27

01435-00612

Bolt

SN: 511700-UP

3шт.

28

08193-20010

Clip

SN: 511700-UP

1шт.

29

01435-01016

Bolt

SN: 511700-UP

1шт.

30

6934-71-5860

Bracket

SN: 511700-UP

1шт.

31

01010-81055

Bolt

SN: 511700-UP

1шт.

32

01643-31032

Washer

SN: 511700-UP

1шт.

33

01643-31032

Washer

SN: 511700-UP

1шт.

34

6240-81-4431

Clip

SN: 511700-UP

1шт.

35

01010-81020

Bolt

SN: 511700-UP

1шт.

36

01643-31032

Washer

SN: 511700-UP

1шт.

37

6934-71-5860

Bracket

SN: 511700-UP

1шт.

38

01010-81055

Bolt

SN: 511700-UP

1шт.

39

01643-31032

Washer

SN: 511700-UP

1шт.

40

01643-31032

Washer

SN: 511700-UP

1шт.

41

6245-51-6310

Tube, Suction

SN: 511700-UP

1шт.

42

07000-E2060

O-ring

SN: 511700-UP

1шт.

43

01010-81030

Bolt

SN: 511700-UP

1шт.

44

6245-51-6320

Bracket

SN: 511700-UP

1шт.

45

01010-81030

Bolt

SN: 511700-UP

1шт.

46

6110-23-6490

Spacer

SN: 511700-UP

1шт.

47

01010-81025

Bolt

SN: 511700-UP

1шт.

48

01643-31032

Washer

SN: 511700-UP

1шт.

49

01580-01008

Nut

SN: 511700-UP

1шт.

50

01643-31032

Washer

SN: 511700-UP

1шт.

51

6245-51-6330

Bracket

SN: 511700-UP

1шт.

52

01010-81030

Bolt

SN: 511700-UP

1шт.

53

01643-31032

Washer

SN: 511700-UP

1шт.

54

07283-36163

Clip

SN: 511700-UP

1шт.

55

6240-51-6391

Plate

SN: 511700-UP

1шт.

56

01597-01009

Nut

SN: 511700-UP

2шт.

57

01643-31032

Washer

SN: 511700-UP

2шт.

58

6245-21-5600

Valve, Oil Drain

SN: 511700-UP

1шт.

59

07002-23634

O-ring

SN: 511700-UP

1шт.

60

09920-00150

Liquid gasket, LG-7, 150G

SN: 511700-UP

-2шт.

Выбрано товаров: 61