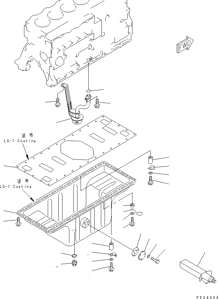
Запчасти Komatsu SAA6D95LE-1A-C МАСЛЯНЫЙ ПОДДОН И ВСАСЫВАЮЩИЙ ПАТРУБОК ДВИГАТЕЛЬ

Схема запчастей Komatsu SAA6D95LE-1A-C - МАСЛЯНЫЙ ПОДДОН И ВСАСЫВАЮЩИЙ ПАТРУБОК ДВИГАТЕЛЬ
1
2
3
4
4
5
6
6
7
7
8
8
9
10
11
12
13
14
15
16
17
18
19
20
21
22
FIT
1:1
100%

Артикул

Название

Примечание

Количество

1

6209-21-5120

PAN,OIL

SN: 150915-UP

1шт.

2

6206-21-5150

PLATE,UNDER

SN: 150915-UP

1шт.

3

01435-00816

BOLT

SN: 150915-UP

27шт.

4

01435-00860

BOLT

SN: 150915-UP

2шт.

5

01435-00830

BOLT

SN: 150915-UP

1шт.

6

6144-51-6150

BRACKET

SN: 150915-UP

2шт.

7

6137-71-3750

SPACER

SN: 150915-UP

2шт.

8

01643-30823

WASHER

SN: 150915-UP

2шт.

9

6124-81-4290

SPACER

SN: 150915-UP

1шт.

10

01642-20810

WASHER

SN: 150915-UP

1шт.

11

6130-22-5290

CLIP

SN: 150915-UP

1шт.

12

6204-21-5680

VALVE

SN: 150915-UP

1шт.

13

07005-02216

GASKET (K2)

SN: 150915-UP

1шт.

14

6209-51-6240

TUBE,SUCTION

SN: 150915-UP

1шт.

15

6204-51-6122

O-RING (K2)

SN: 160616-UP

1шт.

15

0

O-RING

SN: 150915-160615

1шт.

16

01435-20816

BOLT

SN: 150915-UP

1шт.

17

01435-20812

BOLT

SN: 150915-UP

1шт.

18

6136-21-5770

PLATE

SN: 150915-UP

1шт.

19

6136-21-5870

GASKET (K2)

SN: 150915-UP

1шт.

20

01010-80612

BOLT

SN: 150915-UP

3шт.

21

01641-00608

WASHER

SN: 150915-UP

3шт.

22

09920-00150

LIQUID GASKET,LG-7, 150G

SN: 150915-UP

-2шт.

Выбрано товаров: 23