Запчасти Komatsu SAA6D95LE-1C-LT МАСЛЯНЫЙ ПОДДОН И ВСАСЫВАЮЩИЙ ПАТРУБОК(№87-) ДВИГАТЕЛЬ

Схема запчастей Komatsu SAA6D95LE-1C-LT - МАСЛЯНЫЙ ПОДДОН И ВСАСЫВАЮЩИЙ ПАТРУБОК(№87-) ДВИГАТЕЛЬ
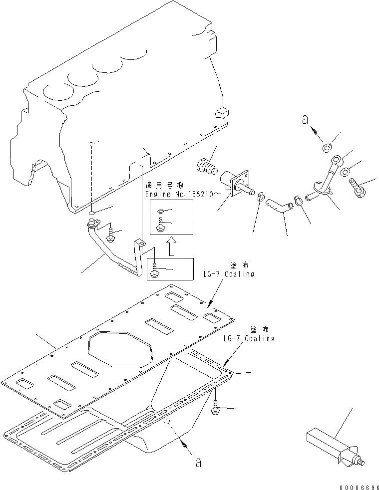
1
2
3
4
5
6
7
8
9
10
11
11
12
13
14
15
15
16
17
18
FIT
1:1
100%

Артикул

Название

Примечание

Количество

1

6206-21-5111

PAN,OIL

SN: 165687-UP

1шт.

2

6206-21-5150

PLATE,UNDER

SN: 165687-UP

1шт.

3

01435-00816

BOLT

SN: 165687-UP

30шт.

4

07005-02216

GASKET (K2)

SN: 165687-UP

1шт.

5

22T-01-21120

TUBE

SN: 165687-UP

1шт.

6

417-01-11930

BOLT,JOINT

SN: 165687-UP

1шт.

7

07005-02416

GASKET (K2)

SN: 165687-UP

1шт.

8

424-01-11120

TUBE

SN: 165687-UP

1шт.

9

424-01-11110

PLUG

SN: 165687-UP

1шт.

10

22T-01-21150

HOSE

SN: 169051-UP

1шт.

|10

0

HOSE

SN: 165687-169050

1шт.

11

07281-00289

CLAMP

SN: 165687-UP

2шт.

12

08034-00519

BAND (K2)

SN: 165687-UP

1шт.

13

6206-51-6210

TUBE,SUCTION

SN: 165687-UP

1шт.

14

6204-51-6122

O-RING (K2)

SN: 167829-UP

1шт.

|14

0

O-RING

SN: 165687-167828

1шт.

15

01435-00816

BOLT

SN: 168210-UP

2шт.

|15

01435-20816

BOLT

SN: 165687-168209

1шт.

16

01435-20812

BOLT

SN: 165687-168209

1шт.

17

01643-30823

WASHER

SN: 168210-UP

1шт.

18

09920-00150

LIQUID GASKET,LG-7¤ 150G

SN: 165687-UP

-2шт.

Выбрано товаров: 0